授权公布号:CN215689996U
一种具有自动搅拌和温度智能显示的奶瓶
有效
申请
2020-12-14
申请公布
1970-01-01
授权
2022-02-01
预估到期
2030-12-14
| 申请号 | CN202023017663.4 |
| 申请日 | 2020-12-14 |
| 授权公布号 | CN215689996U |
| 授权公告日 | 2022-02-01 |
| 分类号 | A61J9/02;G01K13/00;G01K1/024 |
| 分类 | 医学或兽医学;卫生学; |
| 申请人名称 | 惠州市美儿婴儿用品有限公司 |
| 申请人地址 | 广东省惠州市三栋镇第三工业区上洞石屋村厂房 |
专利法律状态
2022-02-01
授权
状态信息
授权
摘要
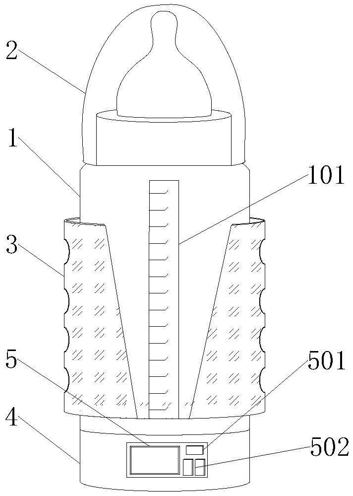
本实用新型属于奶瓶技术领域,尤其为一种具有自动搅拌和温度智能显示的奶瓶,包括包括奶瓶本体,所述奶瓶本体的上端面安装有防尘罩,所述奶瓶本体的底端面连通有底座,所述底座外侧壁的前端嵌入安装有显示屏,所述显示屏的右侧从上至下依次设置有启动按钮和两个并列的控制按钮,所述启动按钮和两个控制按钮均安装于底座的外侧壁,所述启动按钮和两个控制按钮均与显示屏电性连接,从而通过在显示屏上设置搅拌的时间,使得电机带动搅拌杆将奶瓶中的溶液在设定的时间内进行搅拌,进而达到计时自动搅拌的效果,通过在显示屏上设置奶瓶中溶液的温度,温度传感器监控溶液上升的温度,进而达到自动控制温度和智能显示温度的效果。


