授权公布号:CN217069374U
一种动力喷雾机用液体罐
有效
申请
2021-12-20
申请公布
1970-01-01
授权
2022-07-29
预估到期
2031-12-20
| 申请号 | CN202123207968.6 |
| 申请日 | 2021-12-20 |
| 授权公布号 | CN217069374U |
| 授权公告日 | 2022-07-29 |
| 分类号 | B05B15/00 |
| 分类 | 一般喷射或雾化;对表面涂覆液体或其他流体的一般方法〔2〕; |
| 申请人名称 | 诸暨市海道机械股份有限公司 |
| 申请人地址 | 浙江省绍兴市诸暨市店口镇湖中路11号5号楼000102室 |
专利法律状态
2022-07-29
授权
状态信息
授权
摘要
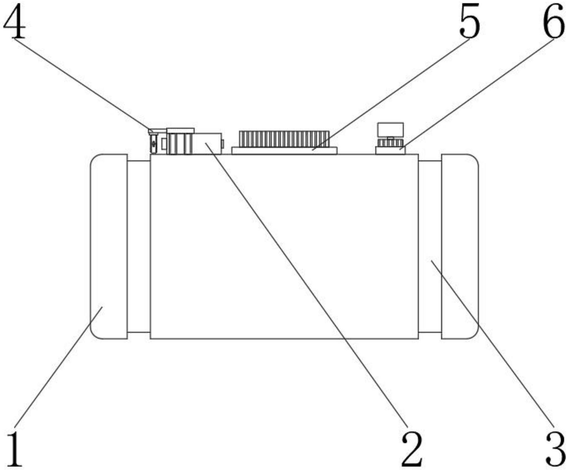
本实用新型公开了一种动力喷雾机用液体罐,包括罐体,所述罐体的外壁开设有安装槽,所述罐体的上端一侧设置有水管连接件,所述水管连接件的外壁设置有接管稳固机构,所述罐体的上端中部设置有密封盖,所述罐体的上端一侧设置有液面高度提醒机构,所述接管稳固机构包括连接杆、手动调节旋钮、连接架、稳固架、连接箍与固定架。本实用新型所述的一种动力喷雾机用液体罐,设有接管稳固机构与液面高度提醒机构,能够在液体罐使用时,提高接管的连接稳固,防止接管从水管连接件上意外脱落,设置的液面高度提醒机构,可以在液体罐灌入液体时,提醒液体罐内部的液面高度到达指定高度,防止灌装的液体溢出,带来更好的使用前景。


