授权公布号:CN218100698U
硬盘盒
有效
申请
2022-08-24
申请公布
1970-01-01
授权
2022-12-20
预估到期
2032-08-24
| 申请号 | CN202222241350.X |
| 申请日 | 2022-08-24 |
| 授权公布号 | CN218100698U |
| 授权公告日 | 2022-12-20 |
| 分类号 | G11B33/02;G11B33/14 |
| 分类 | 信息存储; |
| 申请人名称 | 研祥智能科技股份有限公司 |
| 申请人地址 | 广东省深圳市南山区高新中四道31号研祥科技大厦 |
专利法律状态
2022-12-20
授权
状态信息
授权
摘要
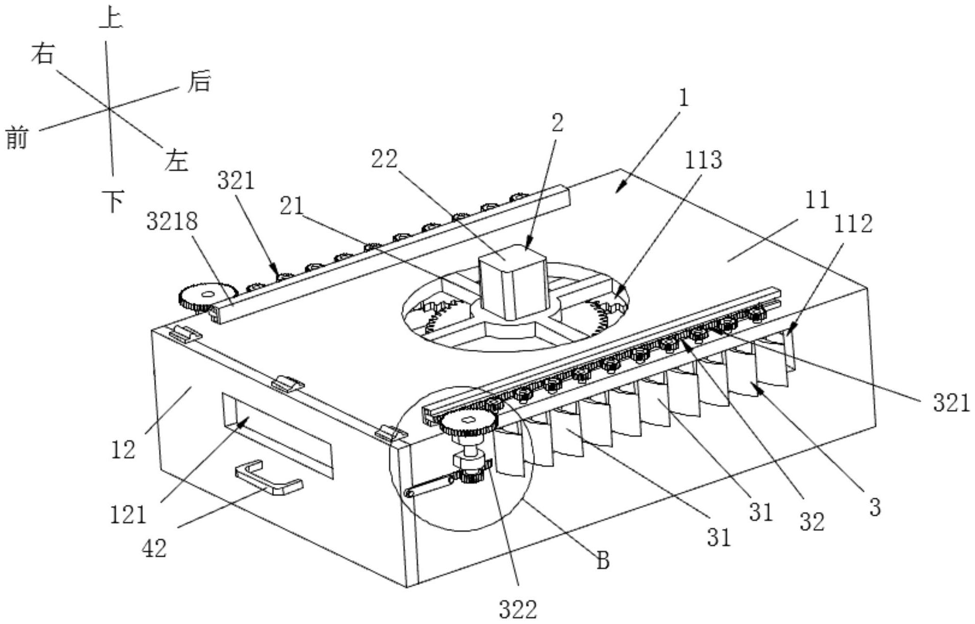
本实用新型提供一种硬盘盒,包括:硬盘盒体、散热机构、百叶和驱动机构;硬盘盒体的表面开设有排气窗,散热机构与硬盘盒体固定连接,百叶与硬盘盒体转动连接;驱动机构包括:连接组件和驱动滑块;连接组件的一端与驱动滑块连接,连接组件的另一端与百叶连接,驱动滑块与硬盘盒体滑移连接;驱动滑块通过相对硬盘盒体滑动,以使连接组件带动百叶相对硬盘盒体摆动,并使百叶在闭合工位和打开工位之间切换;百叶在由打开工位向闭合工位移动时,百叶向排气窗移动,直至将排气窗与外界隔断;百叶在由闭合工位向打开工位移动时,百叶向背离排气窗的方向移动,以将排气窗与外界连通。本实用新型能够防止外界的杂质通过排气窗进入硬盘盒体内。


