授权公布号:CN212661190U
一种头盔配套警示尾灯的安装结构
有效
申请
2020-07-16
申请公布
1970-01-01
授权
2021-03-09
预估到期
2030-07-16
| 申请号 | CN202021408732.1 |
| 申请日 | 2020-07-16 |
| 授权公布号 | CN212661190U |
| 授权公告日 | 2021-03-09 |
| 分类号 | A42B3/04;A42B3/32 |
| 分类 | 帽类制品; |
| 申请人名称 | 昆山凯得爱依贸易有限公司 |
| 申请人地址 | 江苏省苏州市昆山市花桥镇蓬青路918号3号厂房301 |
专利法律状态
2022-07-19
专利权人的姓名或者名称、地址的变更
状态信息
专利权人的姓名或者名称、地址的变更;IPC(主分类):A42B3/04;变更事项:专利权人;变更前:昆山凯得爱依贸易有限公司;变更后:昆山凯得爱依贸易有限公司;变更事项:地址;变更前:215300 江苏省苏州市昆山开发区洪湖路1465号3号房;变更后:215300 江苏省苏州市昆山市花桥镇蓬青路918号3号厂房301
2021-03-09
授权
状态信息
授权
摘要
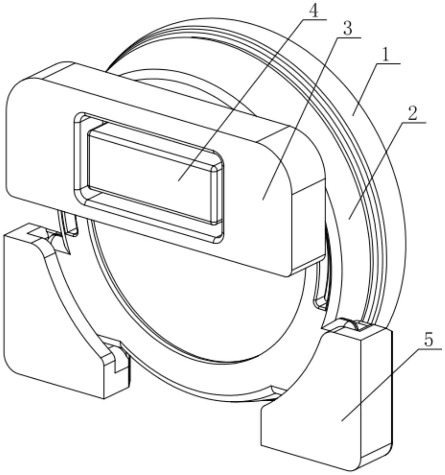
本实用新型涉及一种头盔配套警示尾灯的安装结构,包括尾灯,尾灯背面延伸或者卡装有支架,头盔外壁面向外延伸有安装座,安装座上嵌装有磁性体一,支架上嵌装有磁性体二,支架从上至下可拆卸卡装于头盔外壁面的安装座上,支架由安装座支承,磁性体二和磁性体一磁力吸合;通过支架与安装座之间的卡装,实现了尾灯与头盔之间的可拆卸连接,而磁性体一和磁性体二则有效助力于支架与安装座之间的紧密贴合,以保证尾灯与头盔之间连接的可靠性;本实用新型助力于实现在需要时将尾灯快速、方便地安装至头盔上,而不需要时可将其取下,从而有效减轻了骑行时头盔重量,操作简单,实用性好。


