授权公布号:CN211988152U
一种用于饮料调配的高剪切搅拌设备
有效
申请
2020-04-08
申请公布
1970-01-01
授权
2020-11-24
预估到期
2030-04-08
| 申请号 | CN202020499396.X |
| 申请日 | 2020-04-08 |
| 授权公布号 | CN211988152U |
| 授权公告日 | 2020-11-24 |
| 分类号 | B01F7/16;B01F15/00 |
| 分类 | 一般的物理或化学的方法或装置; |
| 申请人名称 | 黄山市超港食品有限公司 |
| 申请人地址 | 安徽省黄山市经济开发区徽光路100号 |
专利法律状态
2020-11-24
授权
状态信息
授权
摘要
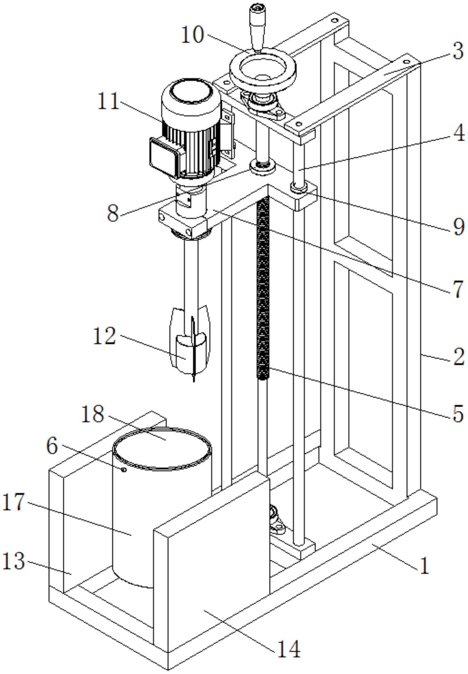
本实用新型公开了一种用于饮料调配的高剪切搅拌设备,包括底架,所述底架上端面的后侧固定安装有纵架,所述纵架的上端面固定安装有顶架,所述纵架与顶架之间固定安装也导向杆,所述纵架与顶架之间通过轴承安装有螺纹杆,所述导向杆和螺纹杆的外部设置有升降座,所述升降座与导向杆之间设置有导向套。该用于饮料调配的高剪切搅拌设备,升降座升降调节简单,且调节速度快,无需电力驱动,以及提高升降的稳定性;通过设置的内胆对饮料进行盛放,内胆为可拆卸结构,便于拆卸清洗,且在对饮料剪切搅拌完毕之后,通过驱动电机二带动搅拌桶旋转一定角度,对饮料进行下料,下料速度快,且下料彻底、轻松,饮料残留极少,便于使用。


