授权公布号:CN217722515U
一种糕点加工生产用烘烤装置
有效
申请
2022-06-30
申请公布
1970-01-01
授权
2022-11-04
预估到期
2032-06-30
| 申请号 | CN202221690651.4 |
| 申请日 | 2022-06-30 |
| 授权公布号 | CN217722515U |
| 授权公告日 | 2022-11-04 |
| 分类号 | A21B1/44;A21B3/15;A21B3/00;B60B33/00;H02K5/20 |
| 分类 | 焙烤;制作或处理面团的设备;焙烤用面团〔1,8〕; |
| 申请人名称 | 黄山市超港食品有限公司 |
| 申请人地址 | 安徽省黄山市黄山高新技术产业开发区徽光路100号 |
专利法律状态
2022-11-04
授权
状态信息
授权
摘要
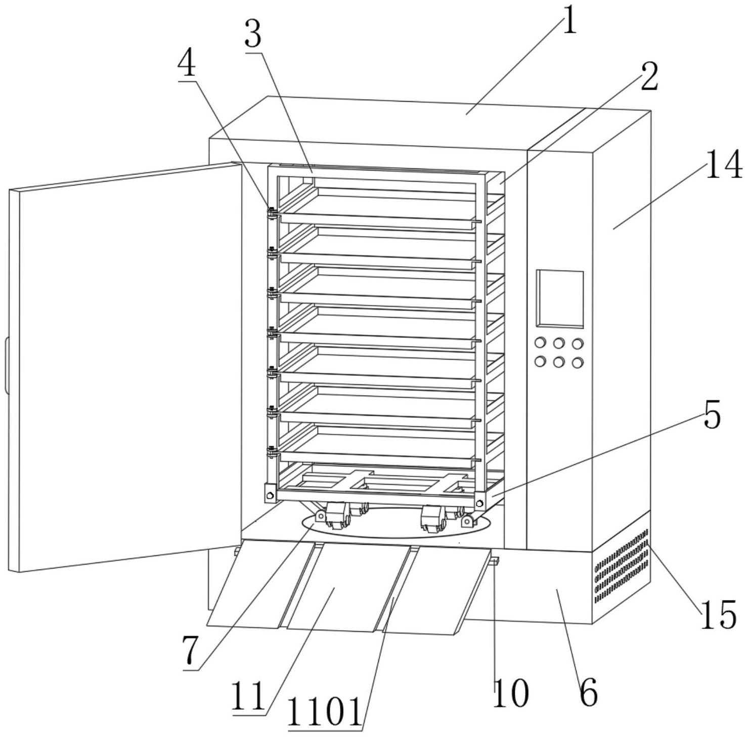
本实用新型公开了一种糕点加工生产用烘烤装置,包括烘烤炉,所述烘烤炉的内部设置有烘焙室,所述烘焙室内设置有烤架机构,所述烤架机构的前端左部固定安装有若干个呈上下分布的防落机构,所述烘烤炉的下端固定安装有搁盒,所述搁盒内通过轴承活动安装有旋转机构,所述旋转机构的上端左部和上端右部均固定安装有固定机构,所述烤架机构活动卡接在两个固定机构之间。本实用新型所述的一种糕点加工生产用烘烤装置,使连接杆在两个支撑板之间旋转,使连接杆带动固定板和旋转钮移动,使固定板与烤架贴紧后,将螺旋钮转进螺纹孔内,将烤架固定住,即可将整个烤架机构固定住,避免了在旋转烘焙过程中,烤架机构脱离旋转盘,提高了工作效率,实用性更高。


