授权公布号:CN215884607U
一种便于取出糕点的糕点盒
有效
申请
2021-08-04
申请公布
1970-01-01
授权
2022-02-22
预估到期
2031-08-04
| 申请号 | CN202121802149.3 |
| 申请日 | 2021-08-04 |
| 授权公布号 | CN215884607U |
| 授权公告日 | 2022-02-22 |
| 分类号 | B65D25/10;B65D25/52;B65D25/30;B65D85/36 |
| 分类 | 输送;包装;贮存;搬运薄的或细丝状材料; |
| 申请人名称 | 黄山市超港食品有限公司 |
| 申请人地址 | 安徽省黄山市黄山高新技术产业开发区徽光路100号 |
专利法律状态
2022-02-22
授权
状态信息
授权
摘要
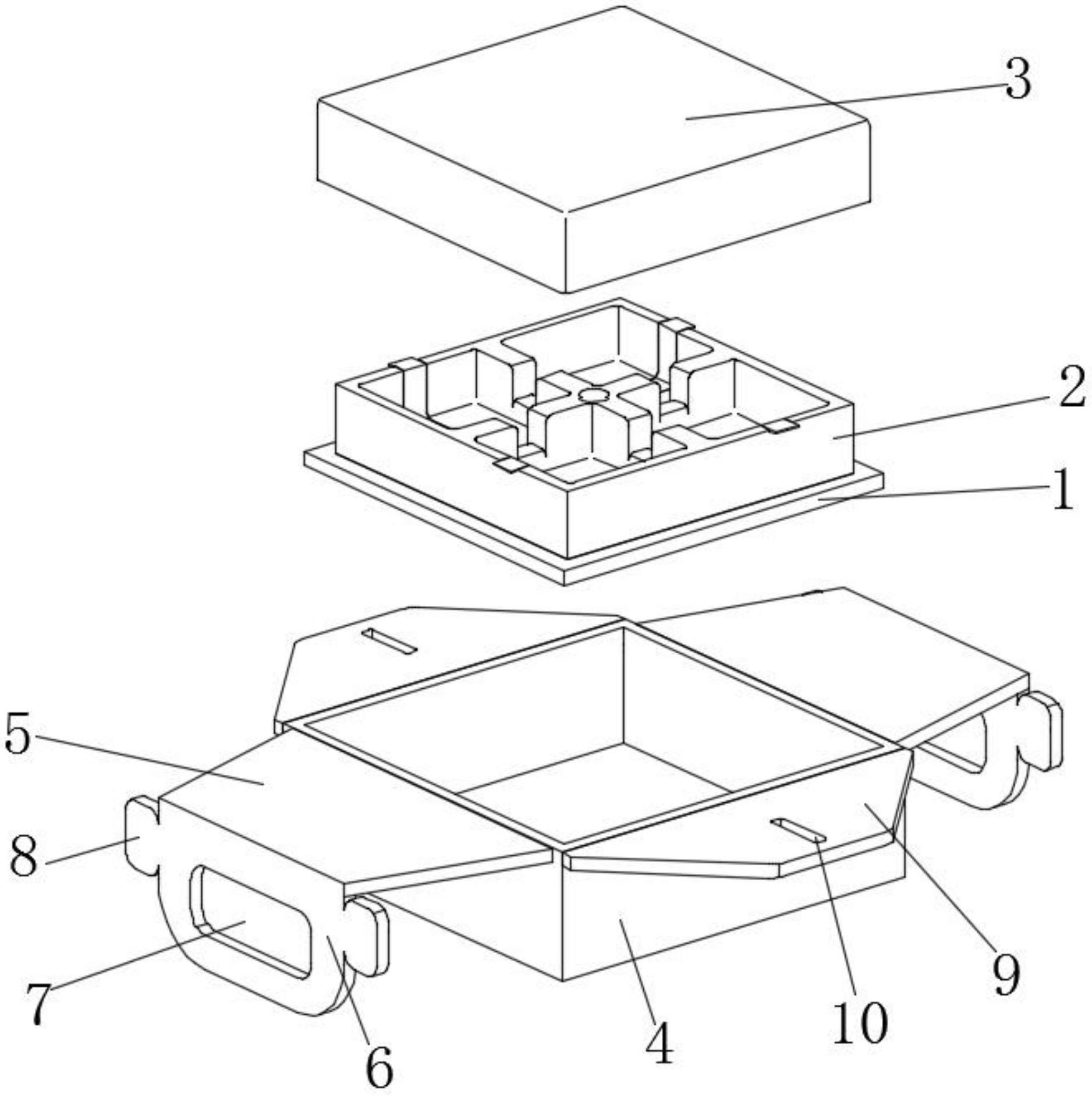
本实用新型公开了一种便于取出糕点的糕点盒,包括盒体,所述盒体的内腔中活动安装有托盘,所述托盘的上端固定安装有放置装置,所述放置装置的外表面活动套接有盒盖,所述盒盖的下端与托盘的上端活动连接,所述盒体的左右两端均固定安装有盖板,两个所述盖板的外侧面上均安装有立板,两个所述立板上均开设有提手槽,两个所述盖板的前后两端均安装有限位块,所述盒体的前后两端固定安装有侧板。本实用新型所述的一种便于取出糕点的糕点盒,通过设置放置槽固定糕点防止糕点散乱破碎,同时设置凹槽和取物槽,取物片活动安装在凹槽上,可抽拉取物片,通过凹槽将糕点取出食用,解决了大多糕点盒不方便取出糕点的问题,使用方便,实用性强。


