授权公布号:CN211983533U
一种控温控湿型面团醒发设备
有效
申请
2020-04-08
申请公布
1970-01-01
授权
2020-11-24
预估到期
2030-04-08
| 申请号 | CN202020504515.6 |
| 申请日 | 2020-04-08 |
| 授权公布号 | CN211983533U |
| 授权公告日 | 2020-11-24 |
| 分类号 | A21C13/00 |
| 分类 | 焙烤;制作或处理面团的设备;焙烤用面团〔1,8〕; |
| 申请人名称 | 黄山市超港食品有限公司 |
| 申请人地址 | 安徽省黄山市经济开发区徽光路100号 |
专利法律状态
2020-11-24
授权
状态信息
授权
摘要
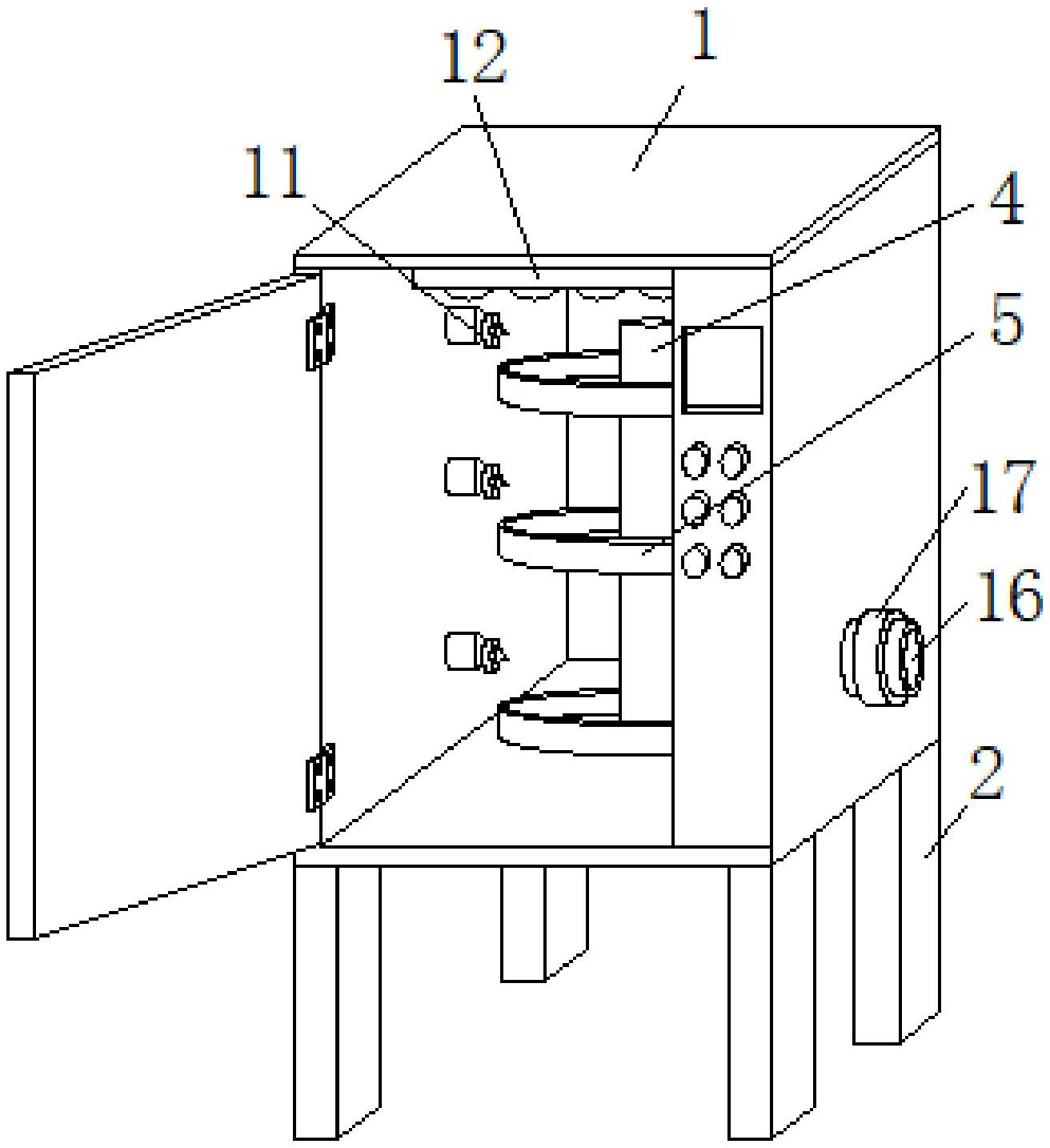
本实用新型公开一种控温控湿型面团醒发设备,包括醒发箱本体,所述醒发箱本体下端固定连接有支脚,且醒发箱本体下端固定连接有电动机,所述电动机位于支脚内侧,且电动机输出端穿过醒发箱本体下端延伸至醒发箱本体内部,所述电动机输出端固定连接有安装轴,且安装轴外侧固定连接有放置盘,所述醒发箱本体左端固定连接有水箱,所述主管道外侧固定连接有支管道,且支管道穿过醒发箱本体左侧延伸至醒发箱本体内部,所述支管道外侧固定连接有喷头。该控温控湿型面团醒发设备,增加了整体的醒发速度,从而增加了整体的实用性,且保证整体醒发效果的同时,增加了整体的醒发效率,从而增加了整体实用性。


