授权公布号:CN214509252U
一种擂枣去皮机
有效
申请
2021-01-15
申请公布
1970-01-01
授权
2021-10-29
预估到期
2031-01-15
| 申请号 | CN202120112909.1 |
| 申请日 | 2021-01-15 |
| 授权公布号 | CN214509252U |
| 授权公告日 | 2021-10-29 |
| 分类号 | A23N7/00;A23N7/10 |
| 分类 | 其他类不包含的食品或食料;及其处理; |
| 申请人名称 | 江西宏明食品有限公司 |
| 申请人地址 | 江西省萍乡市上栗县动漫产业园(彭高镇沽塘村) |
专利法律状态
2021-10-29
授权
状态信息
授权
摘要
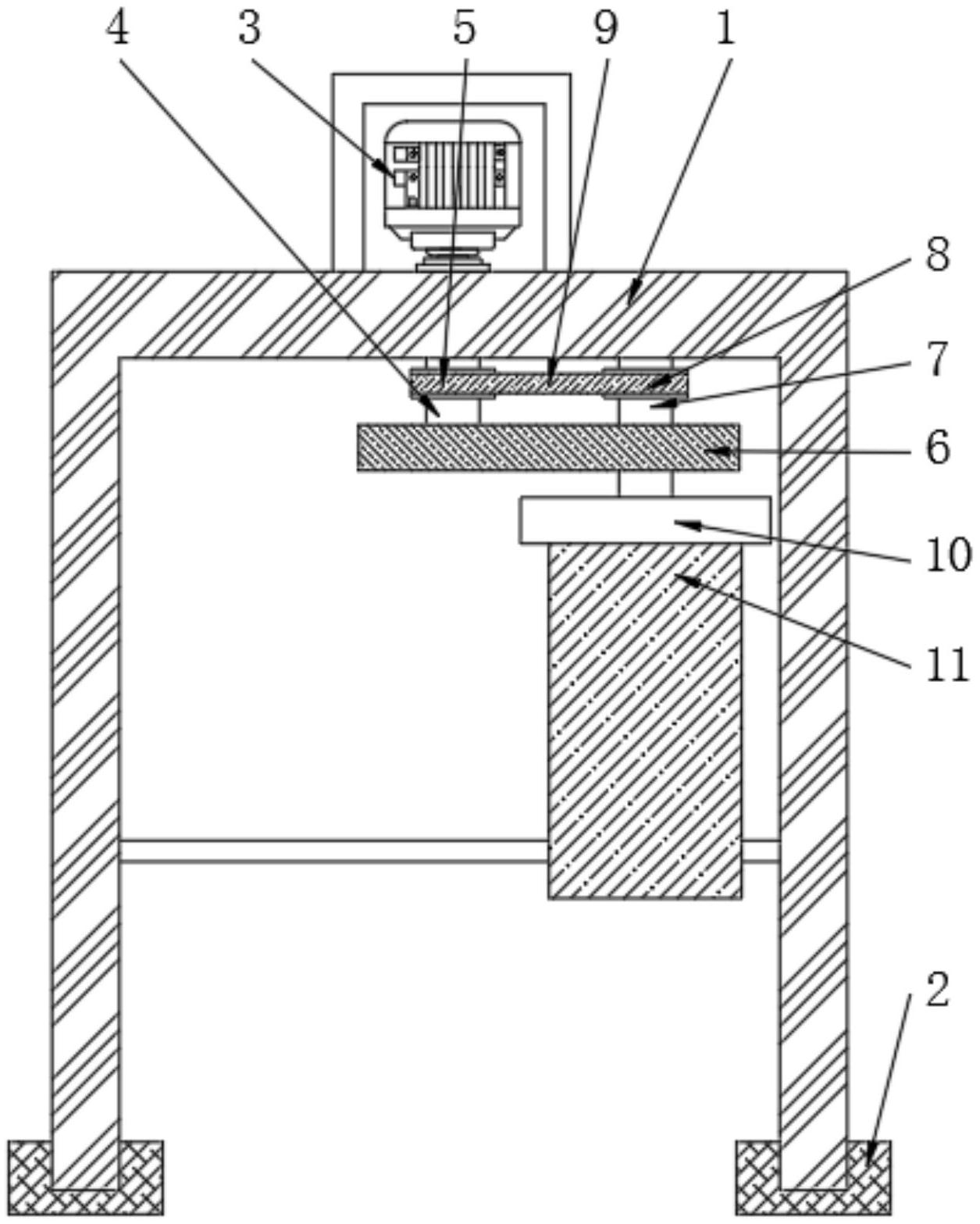
本实用新型涉及食品加工技术领域,且公开了一种擂枣去皮机,包括支撑块,所述支撑块的底部固定安装有支撑底座,所述支撑块的顶部固定安装有电机,所述电机的输出端通过减速机固定安装有一号转轴,所述一号转轴的底端贯穿支撑块并延伸至支撑块的外部,所述一号转轴的外表面固定安装有主动轮,所述一号转轴的底端固定安装有固定块,该擂枣去皮机,通过电机转动带动一号转轴转动并带动主动轮转动,然后通过主动轮转动带动动力传送带转动并带动从动轮转动,接着通过从动轮转动带动二号转轴转动并带动去皮桶转动,实现了对擂枣的高效去皮,减轻了工作人员的工作强度,提高了擂枣去皮机对擂枣去皮时的高效性。


