授权公布号:CN115273535B
一种智慧停车远程控制车位锁
有效
申请
2022-08-02
申请公布
2022-11-01
授权
2023-12-22
预估到期
2042-08-02
| 申请号 | CN202210921215.1 |
| 申请日 | 2022-08-02 |
| 申请公布号 | CN115273535A |
| 申请公布日 | 2022-11-01 |
| 授权公布号 | CN115273535B |
| 授权公告日 | 2023-12-22 |
| 分类号 | G08G1/14;E04H6/42;E01F13/04 |
| 分类 | 信号装置; |
| 申请人名称 | 深圳市皇驰科技有限公司 |
| 申请人地址 | 广东省深圳市龙岗区横岗街道六约北社区埔厦路80号南方·数字创新产业基地1栋301 |
专利法律状态
2023-12-22
授权
状态信息
授权
2022-11-01
公布
状态信息
公布
摘要
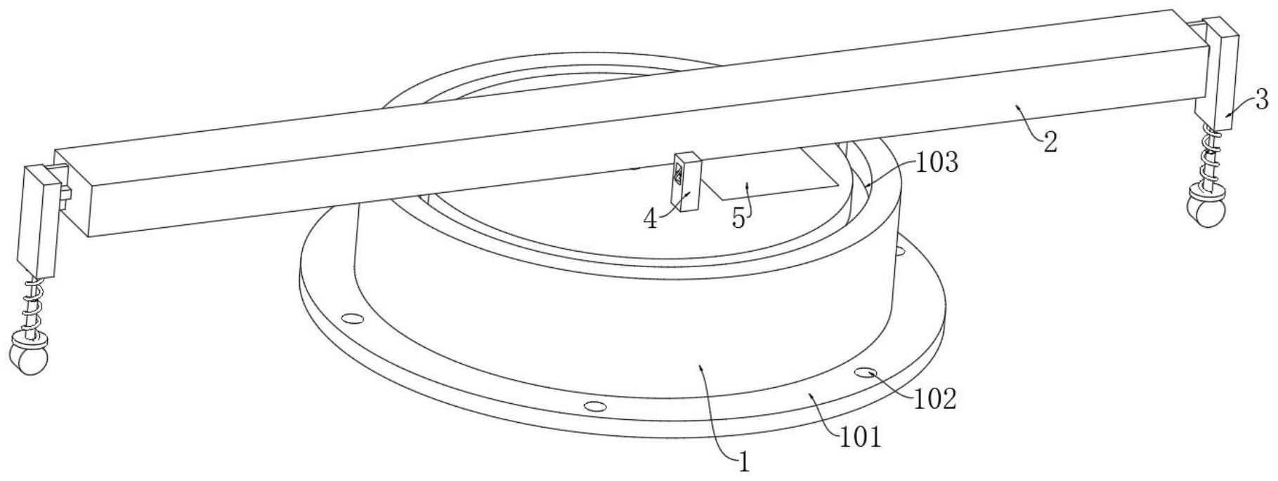
本发明提供一种智慧停车远程控制车位锁,涉及车位锁技术领域,包括安装块,所述安装块上活动设置有锁定组件,所述锁定组件两端设置有对其进行支撑的支撑组件,所述安装块内部设置有转动组件,所述锁定组件一侧设置有限位组件,所述安装块内部安装有电池和PLC控制板,所述PLC控制板上设置有遥感器,通过遥控器将信号传输给遥感器,由遥感器将信号传输给PLC控制板,通过PLC控制板启动第一电机,通过第一电机带动两个齿轮和第一传动轴转动,从而带动传动带转动,通过传动带带动挡板移动,使得挡板一端延伸出条形块,当挡板延伸至靠近两侧的车位线处时停止,从而能够有效避免其他车辆占用部分车位,导致车位变窄不方便停车的问题。


