授权公布号:CN219045461U
一种耐高压的阀板结构
有效
申请
2022-11-08
申请公布
1970-01-01
授权
2023-05-19
预估到期
2032-11-08
| 申请号 | CN202222970593.7 |
| 申请日 | 2022-11-08 |
| 授权公布号 | CN219045461U |
| 授权公告日 | 2023-05-19 |
| 分类号 | F04B53/10;F04B43/02 |
| 分类 | 液体变容式机械;液体泵或弹性流体泵; |
| 申请人名称 | 卡川尔流体科技(上海)有限公司 |
| 申请人地址 | 上海市松江区香泾路79号4幢3层-2 |
专利法律状态
2023-05-19
授权
状态信息
授权
摘要
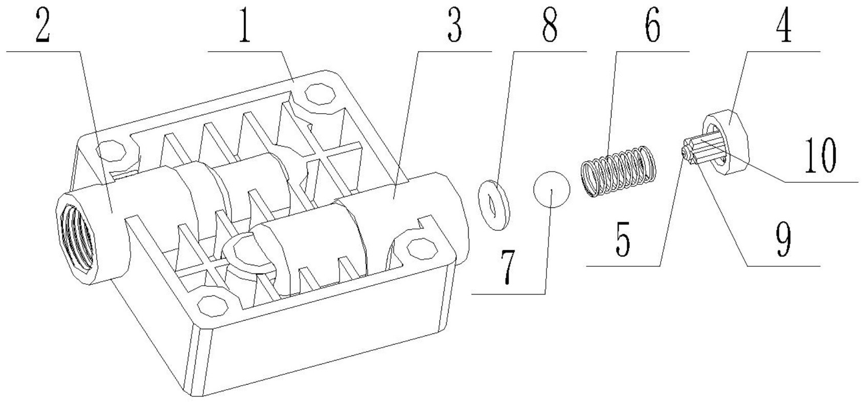
本实用新型提供了一种耐高压的阀板结构,在保证密封的情况下,能承受更高的压力载荷,阀片使用寿命长;阀板上设置有进液通道和出液通道,进液通道和出液通道分别与膜腔的进液孔和出液孔连通,阀板的出液通道的端口上设置有出口压块,出口压块通过管接头压在出液通道内,出口压块的外径与出液通道的内径相适应,出口压块上设置有贯穿通液孔,出口压块的远离管接头的一侧设置有弹簧,弹簧的一端卡接在出口压块上,弹簧的另一端设置有密封球,密封球与阀板的出液孔之间设置有密封圈,密封圈与阀板的出液孔同心设置,密封球能在弹簧的作用下将密封圈压紧在阀板的出液孔上,将阀板的出液孔封堵。


