授权公布号:CN219045454U
一种耐高压防漏液的隔膜密封结构
有效
申请
2023-02-08
申请公布
1970-01-01
授权
2023-05-19
预估到期
2033-02-08
| 申请号 | CN202320150046.6 |
| 申请日 | 2023-02-08 |
| 授权公布号 | CN219045454U |
| 授权公告日 | 2023-05-19 |
| 分类号 | F04B43/02;F04B53/00;F04B53/10;F04B53/16;F16K7/12 |
| 分类 | 液体变容式机械;液体泵或弹性流体泵; |
| 申请人名称 | 卡川尔流体科技(上海)有限公司 |
| 申请人地址 | 上海市松江区香泾路79号4幢3层-2 |
专利法律状态
2023-05-19
授权
状态信息
授权
摘要
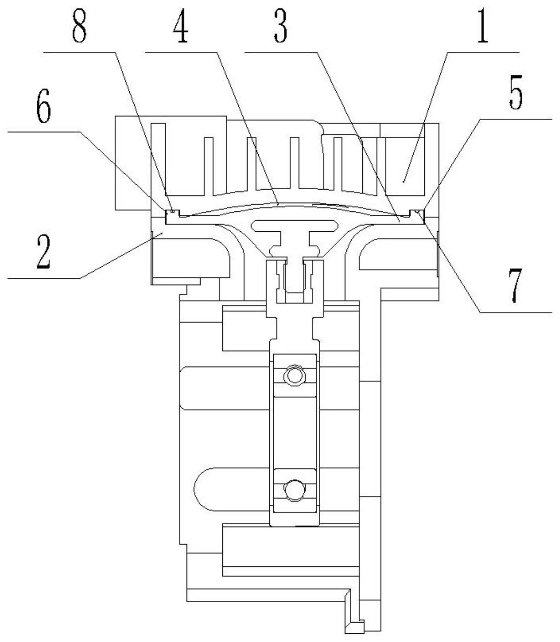
本实用新型提供了一种耐高压防漏液的隔膜密封结构,由传统的正面密封,增加了侧面密封,密封效果更好,承压能力更强;为了解决上述技术问题,本实用新型采用的技术方案为:一种耐高压防漏液的隔膜密封结构,包括阀板、泵体和隔膜,所述阀板匹配的设置在泵体的上侧,所述隔膜设置在阀板和泵体之间,所述泵体的上侧与阀板的接触面中部设置有容纳隔膜的空间,使得所述隔膜能匹配的设置在泵体内,所述阀板下侧设置有弧形的腔体,所述隔膜在向上挤压时,能匹配的贴合在腔体内,所述腔体的边沿上环形设置有凹槽,所述凹槽的位置匹配隔膜的边沿,所述隔膜的边沿一体设置有向上凸起,所述凸起能匹配的贴合压紧在凹槽内,形成密封。


