授权公布号:CN216621026U
一种带有质量检测结构的全自动面膜机
有效
申请
2022-01-18
申请公布
1970-01-01
授权
2022-05-27
预估到期
2032-01-18
| 申请号 | CN202220130201.3 |
| 申请日 | 2022-01-18 |
| 授权公布号 | CN216621026U |
| 授权公告日 | 2022-05-27 |
| 分类号 | G01B11/06;B08B1/00;A61K8/02;A61Q19/00 |
| 分类 | 测量;测试; |
| 申请人名称 | 广州希海生物科技有限公司 |
| 申请人地址 | 广东省广州市番禺区钟村街汉溪村(汉溪商业中心)泽溪街3号604A |
专利法律状态
2022-05-27
授权
状态信息
授权
摘要
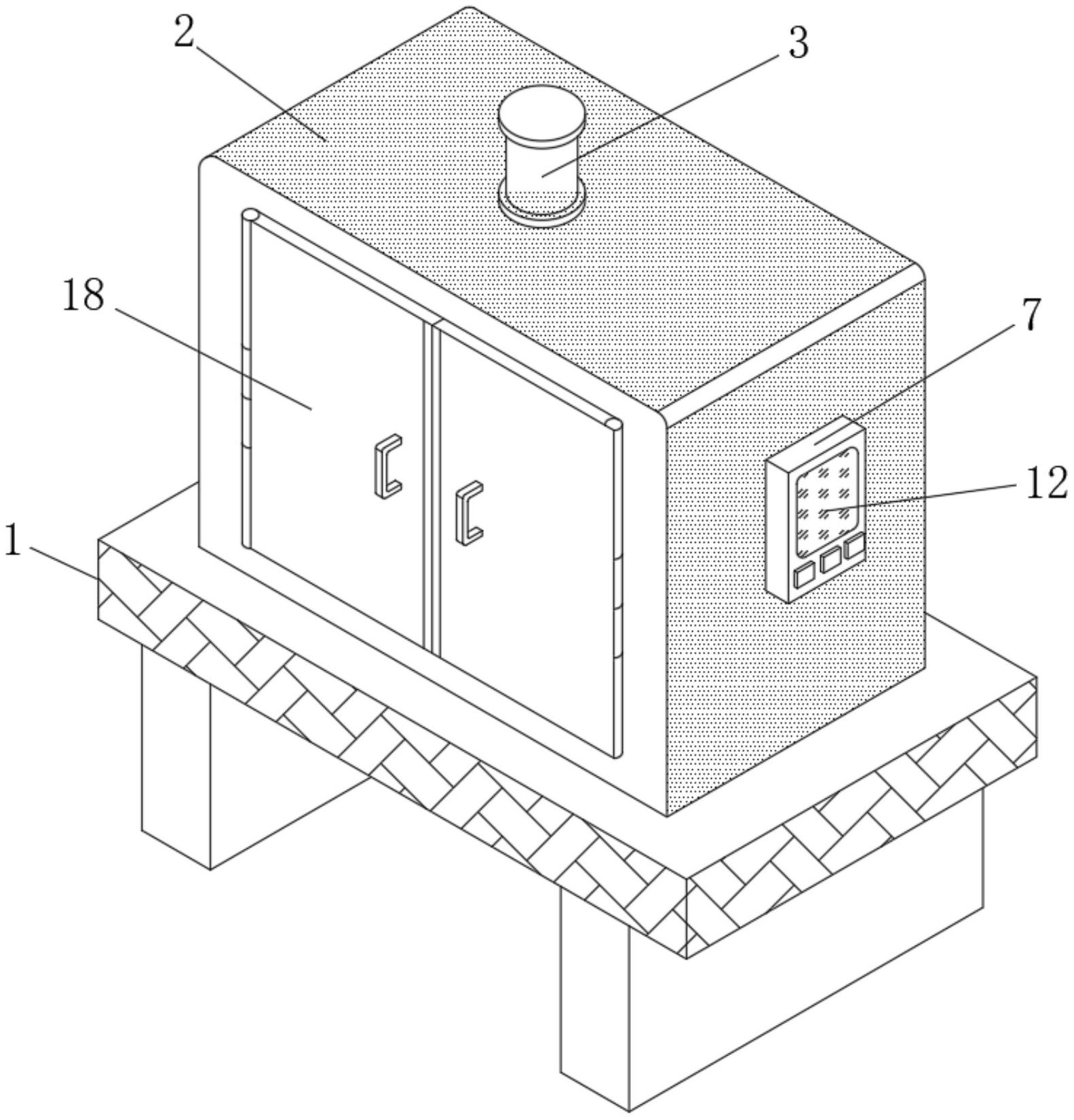
本实用新型公开了一种带有质量检测结构的全自动面膜机,包括工作台、制作箱和清理结构,所述工作台的顶部表面安装有制作箱,所述制作箱的一侧表面安装有控制器,所述制作箱的内底壁安装有红外线接收器,所述制作箱的一侧内壁安装有支撑板,所述支撑板的底部表面安装有红外线发射器,且红外线发射器位于红外线接收器的上方,所述制作箱的一侧内壁安装有检测台。本实用新型通过安装有检测台、检测孔、红外线发射器、红外线接收器和显示屏,在使用该面膜机的过程中,将模切成型的面膜放置在检测台的上面,由此通过质量检测结构来对面膜的厚度进行检测,来避免制作完毕的面膜的质量出现问题,从而提高面膜的品质。


