授权公布号:CN218449789U
适用电机的降轴电压结构
有效
申请
2022-08-25
申请公布
1970-01-01
授权
2023-02-03
预估到期
2032-08-25
| 申请号 | CN202222255533.7 |
| 申请日 | 2022-08-25 |
| 授权公布号 | CN218449789U |
| 授权公告日 | 2023-02-03 |
| 分类号 | H02K11/00;H02K5/173 |
| 分类 | 发电、变电或配电; |
| 申请人名称 | 深圳兴奇宏科技有限公司 |
| 申请人地址 | 广东省深圳市宝安区沙井街道辛养社区西部工业园 |
专利法律状态
2023-02-03
授权
状态信息
授权
摘要
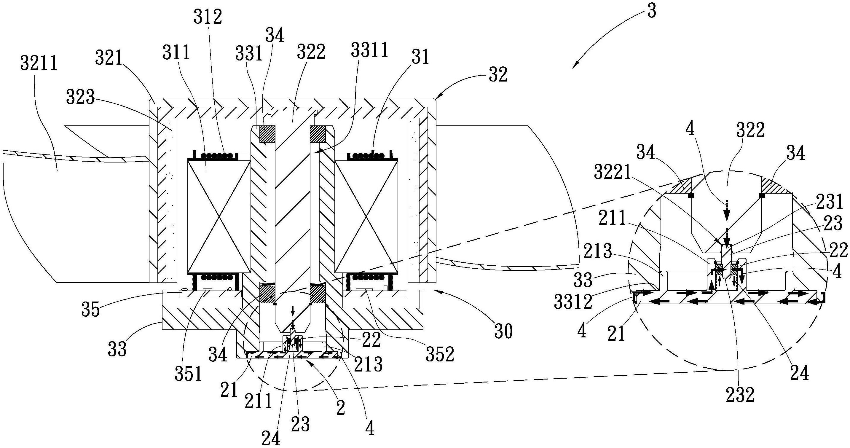
本实用新型提供一种适用电机的降轴电压结构,是组装在一电机上,该电机具有一轴承座是与一转子轴心相枢设,该降轴电压结构包括一导电本体、至少一导电轴承及一导电轴心,该导电本体设在该轴承座的底部,且具有一导电轴筒凸设在该导电本体的中央处,该导电轴筒具有一轴接孔内设置有该导电轴承,该导电轴心具有一连接端及一枢接端分别连接该转子轴心及该轴接孔,借由该导电轴心引导该转子轴心上的一轴电压释放在该导电本体与该导电轴承及该轴承座之间形成一闭合回路,以有效达到降低轴电压的效果。


