授权公布号:CN217219548U
用于足部按摩器的足底按摩结构
失效
申请
2022-02-11
申请公布
1970-01-01
授权
2022-08-19
预估到期
2032-02-11
| 申请号 | CN202220285644.X |
| 申请日 | 2022-02-11 |
| 授权公布号 | CN217219548U |
| 授权公告日 | 2022-08-19 |
| 分类号 | A61H39/04;A61H15/00 |
| 分类 | 医学或兽医学;卫生学; |
| 申请人名称 | 新昌县新荣冠科技有限公司 |
| 申请人地址 | 浙江省绍兴市新昌县澄潭街道白鹤路18号(1幢、2幢) |
专利法律状态
2024-02-20
专利权的终止
状态信息
未缴年费专利权终止;IPC(主分类):A61H39/04;申请日:20220211;授权公告日:20220819
2022-08-19
授权
状态信息
授权
摘要
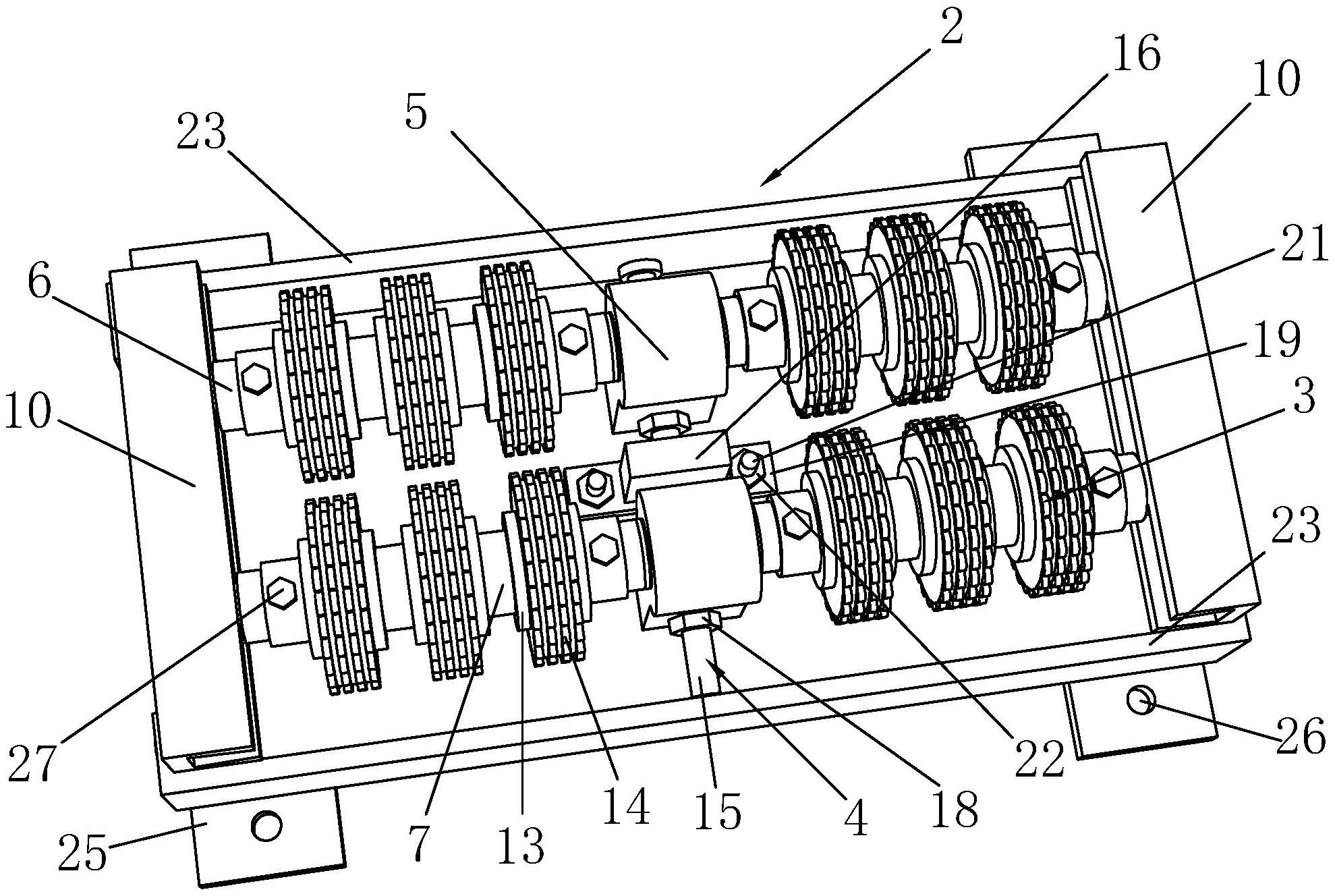
本实用新型公开了用于足部按摩器的足底按摩结构,包括支架和按摩组件,按摩组件横向设置在支架上,按摩组件包括滚筒组和连接件,连接件连接两个滚筒组,滚筒组与连接件可调节安装,连接件与支架固定连接,滚筒组包括安装座、支撑杆和按摩滚筒,支撑杆对称设置在安装座的两侧。本实用新型采用两个滚筒组同时对足部进行按摩,增大按摩结构与足部之间的接触面积,确保实际的按摩效果,且两个滚筒组与连接件之间采用可调节安装,通过调节滚筒组在连接件上的位置,可以对两个滚筒组之间的间距进行调节,使得该按摩结构可以根据使用者的足部长度进行适当调节,从而有效提高按摩器的整体使用舒适度,而且整体拼装拆卸方便简单,便于后续的维护清洁等。


