授权公布号:CN217129920U
风扇框湍流结构
有效
申请
2022-04-07
申请公布
1970-01-01
授权
2022-08-05
预估到期
2032-04-07
| 申请号 | CN202220800746.0 |
| 申请日 | 2022-04-07 |
| 授权公布号 | CN217129920U |
| 授权公告日 | 2022-08-05 |
| 分类号 | F04D29/52;F04D29/66 |
| 分类 | 液体变容式机械;液体泵或弹性流体泵; |
| 申请人名称 | 深圳兴奇宏科技有限公司 |
| 申请人地址 | 广东省深圳市宝安区沙井街道辛养社区西部工业园 |
专利法律状态
2022-08-05
授权
状态信息
授权
摘要
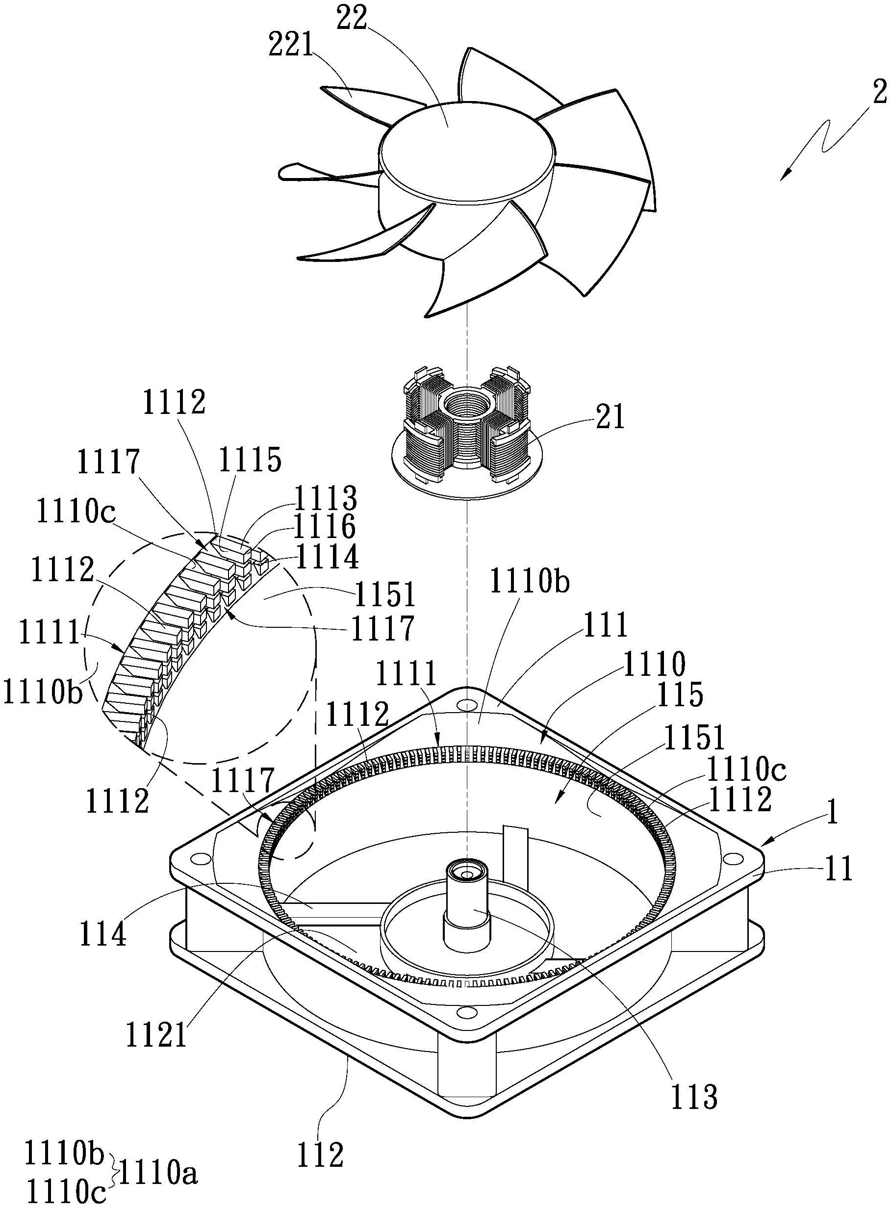
本实用新型涉及一种风扇框湍流结构,包括一框体具有一进风侧及一出风侧分别设在该框体的两侧,且在该框体中间处具有一气流通道由该进风侧贯穿至该出风侧,且该气流通道具有一通道内壁连接该进风侧及该出风侧,该进风侧具有一入口连通该气流通道,该入口具有一碎化区位于该进风侧与该通道内壁之间,该碎化区包括多个密集分布的细碎化单元,该多个细碎化单元之间形成多个间隙连通该气流通道,借由该多个细碎化单元打碎从该进风侧吸入的一气流,使该气流的一部分通过该多个细碎化单元之间的间隙碎化分散成间隙湍流进入该气流通道中,借以实现降低宽带带噪音的效果。


