授权公布号:CN220554460U
一种养生壶的下水结构
有效
申请
2023-06-30
申请公布
1970-01-01
授权
2024-03-05
预估到期
2033-06-30
| 申请号 | CN202321688371.4 |
| 申请日 | 2023-06-30 |
| 授权公布号 | CN220554460U |
| 授权公告日 | 2024-03-05 |
| 分类号 | A47J31/46;A47J31/44;A47J31/06;A47J31/20;A47J27/21 |
| 分类 | 家具;家庭用的物品或设备;咖啡磨;香料磨;一般吸尘器; |
| 申请人名称 | 中山市欧美特电器有限公司 |
| 申请人地址 | 广东省中山市东升镇裕民十村民安路(东升扣车场对面) |
专利法律状态
2024-03-05
授权
状态信息
授权
摘要
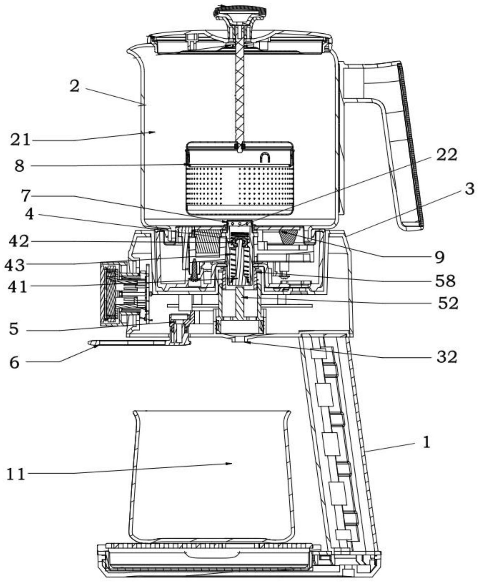
本实用新型公开了一种养生壶的下水结构,包括机体和设置在所述机体上的壶体,在所述壶体内限定有壶腔,在所述壶腔的底壁上开设有出水口,还包括:底托,在所述底托内限定有下水通道,所述下水通道具有相连通的通水口和下水口,所述通水口与所述出水口相连通,所述下水口与外部相连通;止水组件,所述止水组件设置在所述下水通道内;顶杆组件,所述顶杆组件与所述止水组件配合连接;按压件,所述按压件活动设置在所述底托上,并且所述按压件与所述顶杆组件连接以使所述按压件通过所述顶杆组件控制所述止水组件开闭所述通水口。其结构简单,可使壶体内无藏水,同时还可避免下水口发生滴水的现象。


