授权公布号:CN220133655U
一种平推式夹紧器及车顶帐篷
有效
申请
2023-04-21
申请公布
1970-01-01
授权
2023-12-05
预估到期
2033-04-21
| 申请号 | CN202320917868.2 |
| 申请日 | 2023-04-21 |
| 授权公布号 | CN220133655U |
| 授权公告日 | 2023-12-05 |
| 分类号 | E04H15/06;E04H15/32;E04H15/48;B60R9/04 |
| 分类 | 建筑物; |
| 申请人名称 | 秋野地(厦门)户外装备科技有限公司 |
| 申请人地址 | 福建省厦门市海沧区东孚西二路9号3号厂房 |
专利法律状态
2023-12-05
授权
状态信息
授权
摘要
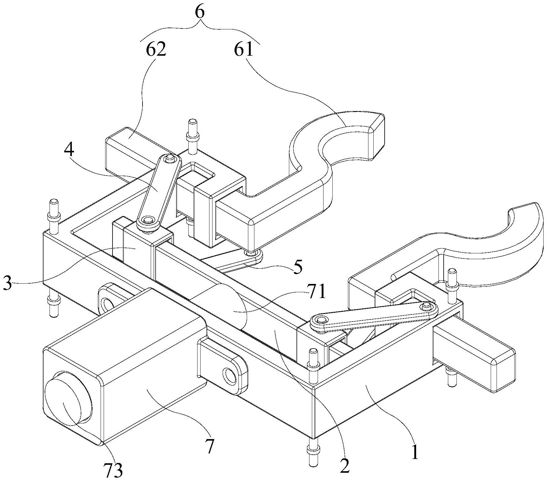
本实用新型提供一种平推式夹紧器及车顶帐篷,包括主架、导杆、滑块、第一连杆、第二连杆、握抓和动力源,导杆轴向滑动安装在主架上,导杆的两端各滑动套接有一个滑块,滑块与第一连杆的一端枢接,第一连杆的另一端枢接在主架上;第二连杆的一端枢接在滑块上,另一端枢接在握抓上,握抓径向滑动安装在主架上,动力源驱动连接导杆;车顶帐篷包括车顶帐篷本体,车顶帐篷本体设有安装底架,安装底架水平安装有夹紧器,车顶行李架上凸设有安装柱,夹紧器与安装柱夹紧配合以将车顶帐篷本体安装在车顶行李架上。本实用新型采用平推的方式驱动夹紧器夹紧,驱动省力且夹紧效果好,并可通过该夹紧器可快装车顶帐篷,操作简单,安装牢固。


