授权公布号:CN218448823U
风扇框电连接结构
有效
申请
2022-09-16
申请公布
1970-01-01
授权
2023-02-03
预估到期
2032-09-16
| 申请号 | CN202222466536.5 |
| 申请日 | 2022-09-16 |
| 授权公布号 | CN218448823U |
| 授权公告日 | 2023-02-03 |
| 分类号 | H01R31/06;H01R13/02;H01R12/71;F04D25/08 |
| 分类 | 基本电气元件; |
| 申请人名称 | 深圳兴奇宏科技有限公司 |
| 申请人地址 | 广东省深圳市宝安区沙井街道辛养社区西部工业园 |
专利法律状态
2023-02-03
授权
状态信息
授权
摘要
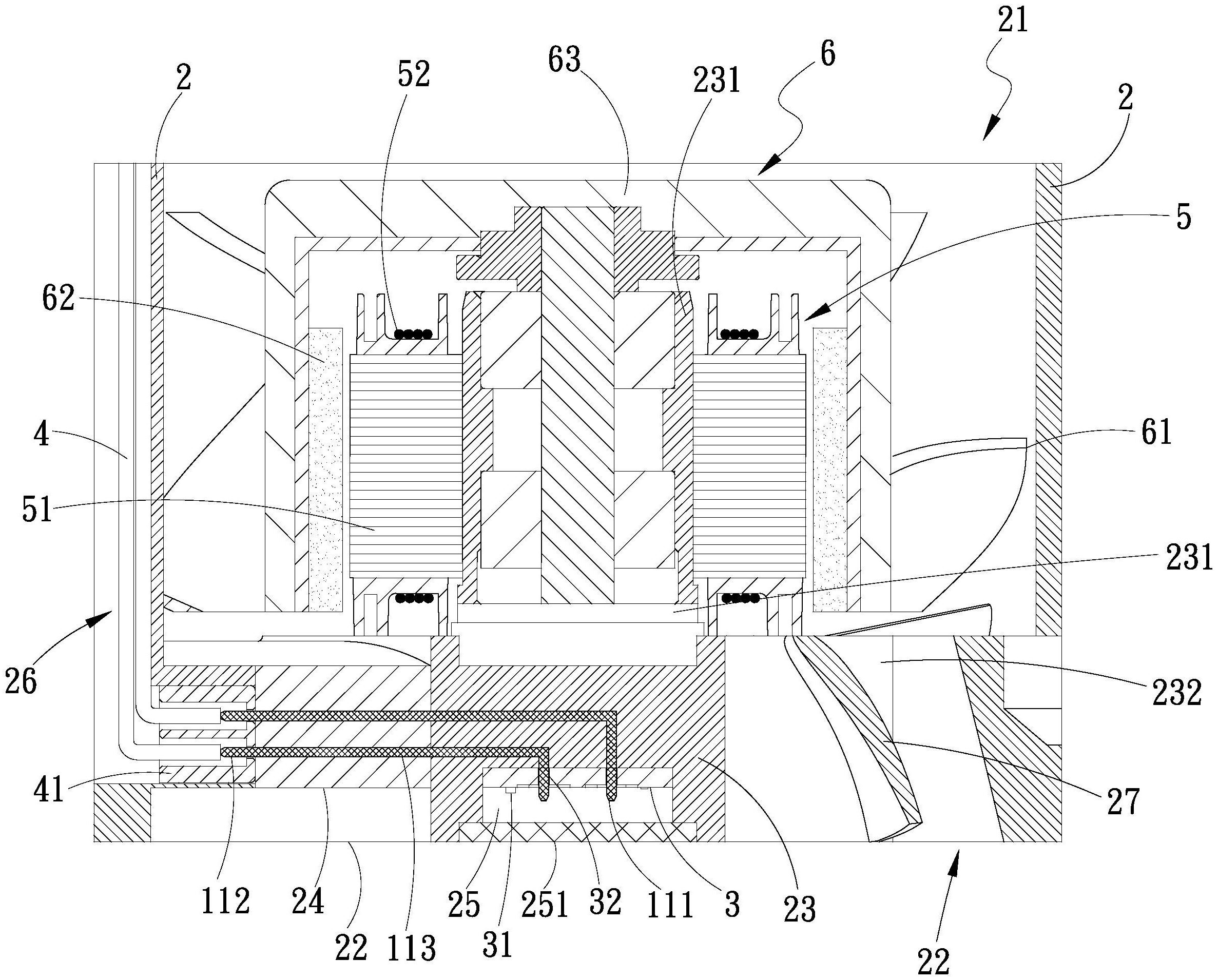
本实用新型提供一种风扇框电连接结构,包含一框体,该框体两侧具有一进风侧及一出风侧,出风侧的中央处设有一轴座,轴座的外侧与框体的内侧之间一体成型有复数静叶及一包覆静叶,包覆静叶是一体包覆一导针组且具有一内端连接轴座的外侧及一外端连该框体内侧,该导针组包含复数第一插接端从包覆静叶的内端延伸到轴座的一底侧与一电路板电性连接,及复数第二插接端从包覆静叶的外端延伸到框体的一壁部与一外部外部导线组电性连接,所述包覆静叶具有一静叶前缘朝该进风侧方向并具有一前缘圆弧及一静叶后缘朝该出风侧方向并具有一后缘圆弧,借以实现自动化快速组装的效果,并保有原始风扇的特性。


