授权公布号:CN107350761B
组装治具结构及具有组装治具结构之组装设备
有效
申请
2016-05-09
申请公布
2017-11-17
授权
2023-12-29
预估到期
2036-05-09
| 申请号 | CN201610303881.3 |
| 申请日 | 2016-05-09 |
| 申请公布号 | CN107350761A |
| 申请公布日 | 2017-11-17 |
| 授权公布号 | CN107350761B |
| 授权公告日 | 2023-12-29 |
| 分类号 | B23P19/00 |
| 分类 | 机床;不包含在其他类目中的金属加工; |
| 申请人名称 | 深圳兴奇宏科技有限公司 |
| 申请人地址 | 广东省深圳市宝安区沙井街道辛养社区西部工业园 |
专利法律状态
2023-12-29
授权
状态信息
授权
2017-12-12
实质审查的生效
状态信息
实质审查的生效;IPC(主分类):B23P19/00;申请日:20160509
2017-11-17
公布
状态信息
公布
摘要
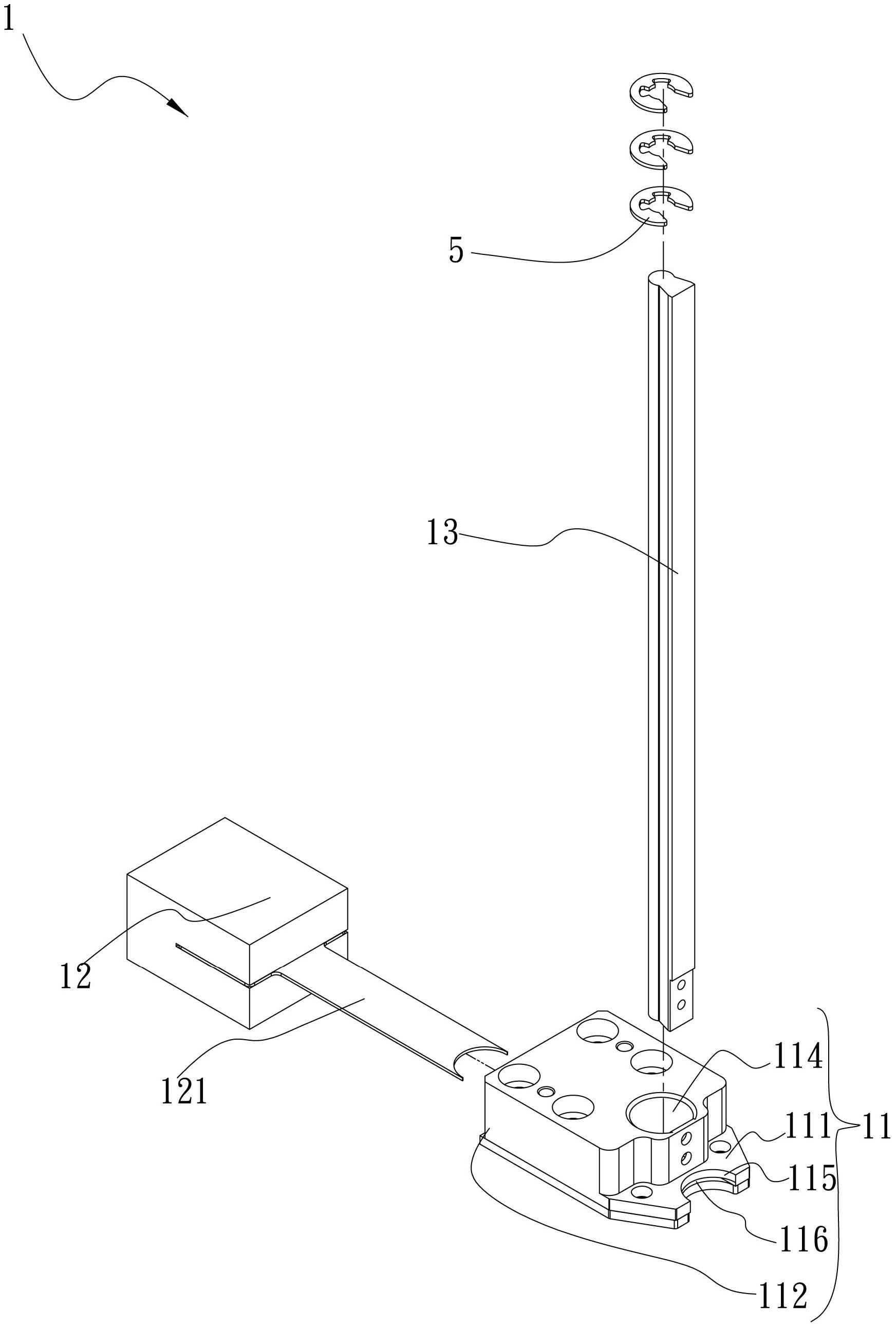
一种组装治具结构及具有组装治具结构之组装设备,该组装治具结构,包含:一本体、一顶出元件、一引导柱;该本体具有一第一端及一第二端及一通道及一槽孔,该通道贯穿该本体并连接该第一、二端,该第一端具有一凹部并与该通道及该槽孔相连通;该顶出元件具有一凸伸部并呈可滑动地对应插接於该本体之通道内;该引导柱对应枢设於该本体之槽孔,透过组装治具结构可自动装填扣片并搭配自动化组装设备,对该顶出元件进行驱动顶出扣片达到自动组装扣片之效果。


