授权公布号:CN214632318U
一种高效脱毛仪
有效
申请
2020-08-18
申请公布
1970-01-01
授权
2021-11-09
预估到期
2030-08-18
| 申请号 | CN202021726499.1 |
| 申请日 | 2020-08-18 |
| 授权公布号 | CN214632318U |
| 授权公告日 | 2021-11-09 |
| 分类号 | A61B18/20 |
| 分类 | 医学或兽医学;卫生学; |
| 申请人名称 | 深圳市博思迪科技有限公司 |
| 申请人地址 | 广东省深圳市宝安区福海街道和平社区凤塘大道164号蚝二佳仕泰科技园4栋厂房101、201 |
专利法律状态
2021-11-09
授权
状态信息
授权
摘要
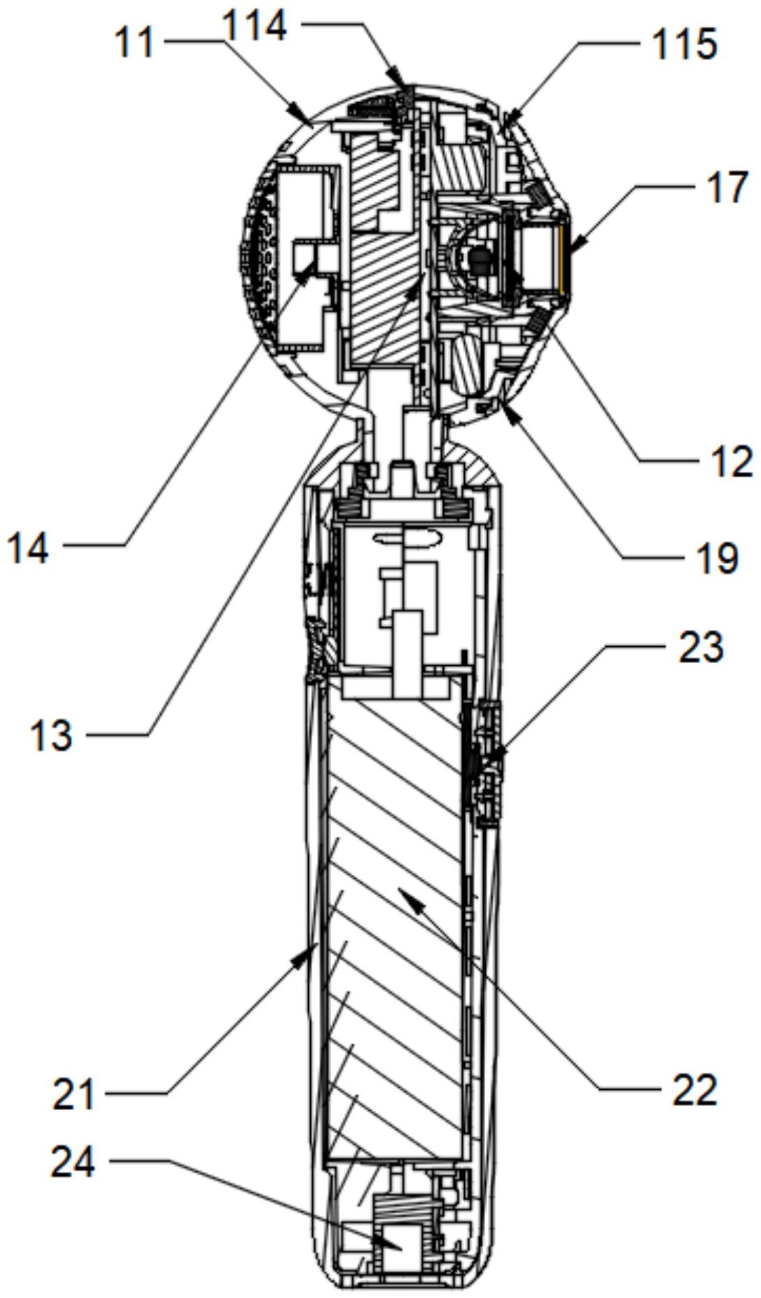
本实用新型涉及脱毛仪技术领域,尤其是涉及一种高效脱毛仪,包括主体和设置在主体下端的手持部,主体包括球形外壳、激光脱毛装置、功能主板和风扇,球形外壳的后侧设置有进风口,球形外壳的前侧设置有出光窗口,球形外壳的前侧部设置有出风口,功能主板设置在球形外壳的中间,功能主板将球形外壳内部分隔为前、后两个空间,激光脱毛装置设置在球形外壳内部的前侧,并且与出光窗口对应配合;风扇设置在球形外壳内部的后侧,并且与进风口通风配合;通过这一结构的设计,能够给主体内部起到有效的散热效果,并且散热不影响使用者皮肤热伤;给使用者带来更加高效舒适的使用效果。


