授权公布号:CN215123850U
一种锯骨机
有效
申请
2021-04-23
申请公布
1970-01-01
授权
2021-12-14
预估到期
2031-04-23
| 申请号 | CN202120890335.0 |
| 申请日 | 2021-04-23 |
| 授权公布号 | CN215123850U |
| 授权公告日 | 2021-12-14 |
| 分类号 | A22C17/06;A22C25/00 |
| 分类 | 屠宰;肉品处理;家禽或鱼的加工; |
| 申请人名称 | 温州市顶诺食品有限公司 |
| 申请人地址 | 浙江省温州市瓯海区农业高新技术示范区民新路2号(1幢第3楼) |
专利法律状态
2021-12-14
授权
状态信息
授权
摘要
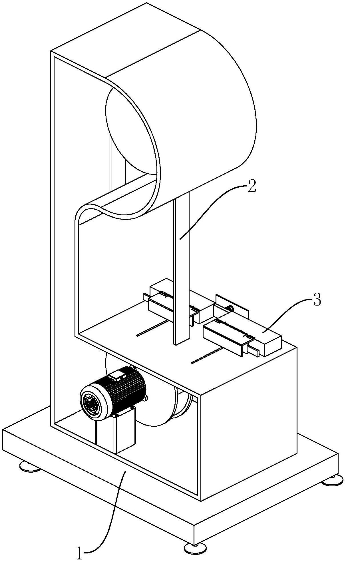
本申请涉及一种锯骨机,涉及食品加工设备的技术领域,其包机体和设置于机体上的锯条,所述机体的上端水平滑动设置有两个安装板,两个所述安装板分布于所述锯条的两侧、且分别用于朝向所述锯条运动,两个所述安装板的上端分别铰接有能够压住食材的压紧板。通过利用两个安装板分别对食材的两端进行阻挡,然后分别利用两个压紧板将食材压住,再推动两个安装板带动两个压紧板和食材朝向锯条运动,从而实现食材的切割,此设计使得使用者能够利用安装板和压紧板对食材进行限位,并且使用者的手部能够位于两个安装板相互远离的一端,使得使用者的手部位置能够尽可能的远离锯条,降低锯条割伤使用者手部的风险,有效提高锯骨机的使用安全性。


