授权公布号:CN107928889B
一种医疗病患转运床
有效
申请
2017-11-10
申请公布
2018-04-20
授权
2019-07-30
预估到期
2037-11-10
| 申请号 | CN201711104497.1 |
| 申请日 | 2017-11-10 |
| 申请公布号 | CN107928889A |
| 申请公布日 | 2018-04-20 |
| 授权公布号 | CN107928889B |
| 授权公告日 | 2019-07-30 |
| 分类号 | A61G1/02;A61G1/04 |
| 分类 | 医学或兽医学;卫生学; |
| 申请人名称 | 河北都邦医疗设备有限公司 |
| 申请人地址 | 河北省衡水市滨湖新区魏屯镇赵祥屯魏岳路168号 |
专利法律状态
2022-12-30
专利权人的姓名或者名称、地址的变更
状态信息
专利权人的姓名或者名称、地址的变更;IPC(主分类):A61G1/02;变更事项:专利权人;变更前:河北都邦医疗设备有限公司;变更后:河北都邦医疗设备有限公司;变更事项:地址;变更前:053207 河北省衡水市冀州区徐庄乡徐州村;变更后:053000 河北省衡水市滨湖新区魏屯镇赵祥屯魏岳路168号
2021-01-22
专利权人的姓名或者名称、地址的变更
状态信息
专利权人的姓名或者名称、地址的变更;IPC(主分类):A61G1/02;变更事项:专利权人;变更前:河北都邦医疗设备有限公司;变更后:河北都邦医疗设备有限公司;变更事项:地址;变更前:053000 河北省衡水市滨湖新区魏屯镇赵祥屯村;变更后:053207 河北省衡水市冀州区徐庄乡徐州村
2019-07-30
授权
状态信息
授权
2019-07-12
专利申请权、专利权的转移
状态信息
专利申请权的转移;IPC(主分类):A61G1/02;登记生效日:20190621;变更事项:申请人;变更前:共同科技开发有限公司;变更后:河北都邦医疗设备有限公司;变更事项:地址;变更前:350000 福建省福州市晋安区新店镇坂中路6号泰禾城市广场(三期)6#楼1层31商业;变更后:053000 河北省衡水市滨湖新区魏屯镇赵祥屯村
2018-05-15
实质审查的生效
状态信息
实质审查的生效;IPC(主分类):A61G1/02;申请日:20171110
2018-04-20
公布
状态信息
公布
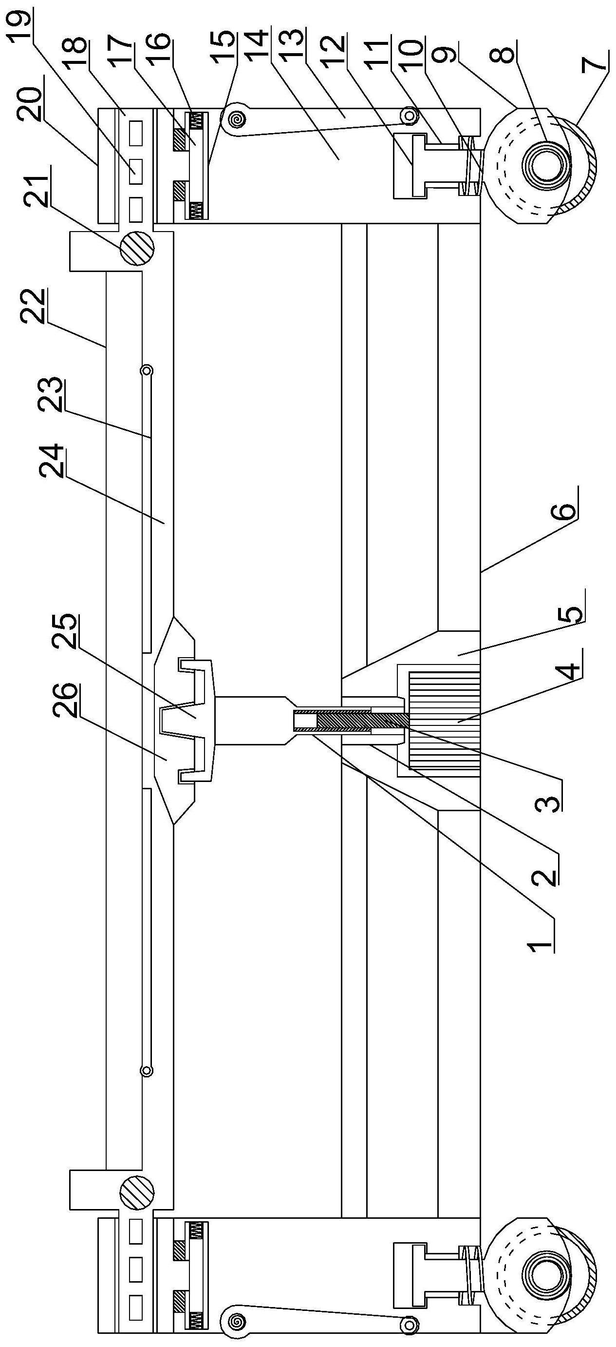
摘要
本发明公开了一种医疗病患转运床,包括移动支撑安装模块和装卸式多级减震转运模块,所述移动支撑安装模块包括支撑安装板,支撑安装板的左右两端对称竖直设置有移动安装板,移动安装板的下端均前后对称向下镶嵌设置有转向减震移动结构,所述转向减震移动结构包括移动安装板的下端设置有竖直向下开孔的限位转向升降槽,配合限位转向升降槽均竖直设置有限位转向安装柱,限位转向安装柱的下端均安装有移动安装轮架,所述移动安装轮架上端的限位转向安装柱配合限位转向升降槽的下端设置有升降减震弹簧圈,本发明具有结构设计紧凑,多级复合减震效果明显,安装转运稳定,单人即可操作,操作简单,节省人力等优点。


