授权公布号:CN218872023U
一种生产清洁剂用分散机
有效
申请
2022-07-02
申请公布
1970-01-01
授权
2023-04-18
预估到期
2032-07-02
| 申请号 | CN202221689072.8 |
| 申请日 | 2022-07-02 |
| 授权公布号 | CN218872023U |
| 授权公告日 | 2023-04-18 |
| 分类号 | B01F33/82;B01F23/80;B01F101/24N |
| 分类 | 一般的物理或化学的方法或装置; |
| 申请人名称 | 台州红梦生物科技有限公司 |
| 申请人地址 | 浙江省台州市临海市小芝镇四南村 |
专利法律状态
2023-04-18
授权
状态信息
授权
摘要
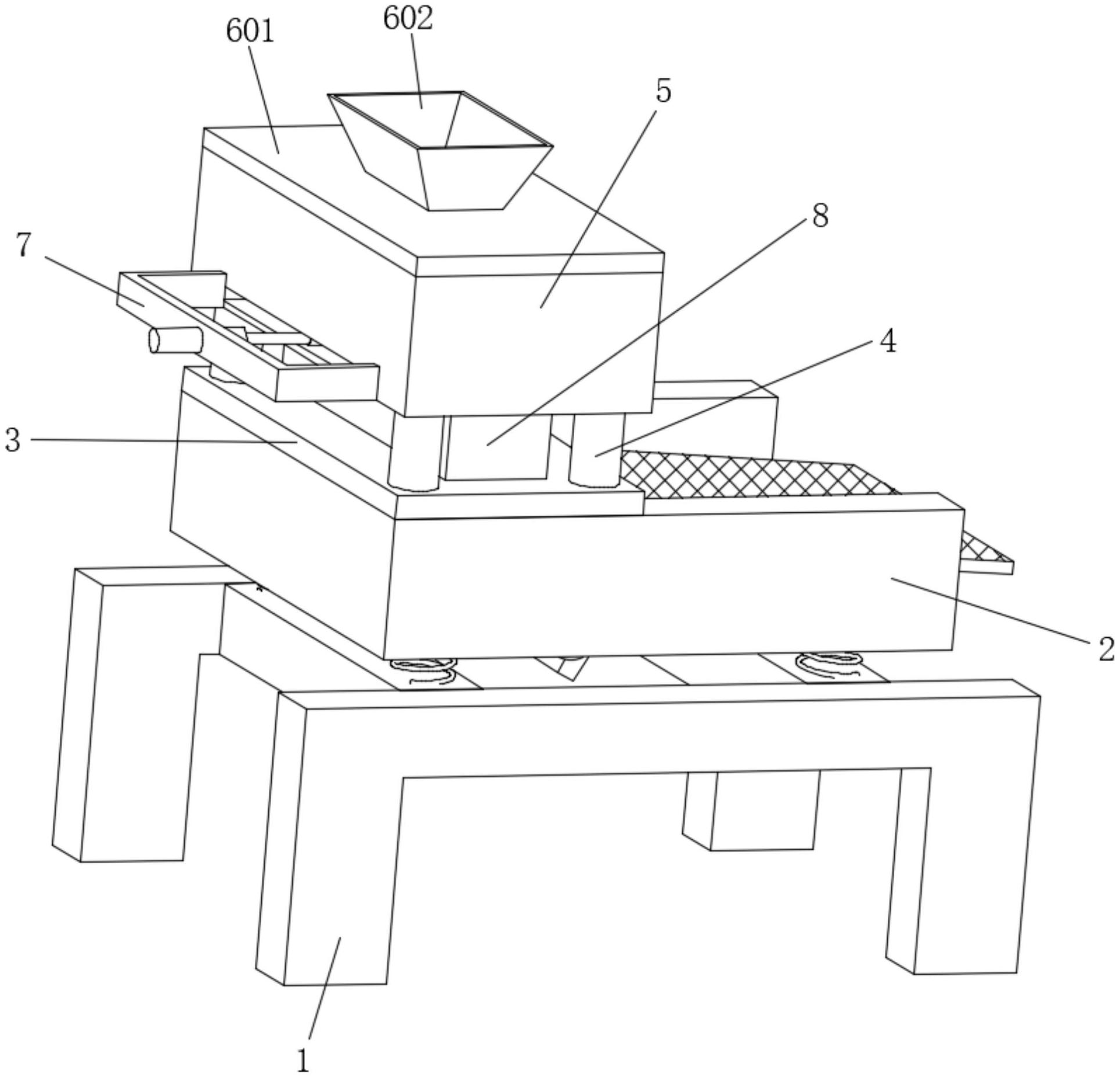
本实用新型公开了一种生产清洁剂用分散机,涉及分散机技术领域。包括工作台,所述工作台顶端设置有震动装置,震动装置顶端一侧固定有固定板,固定板上开设有第一物料口,固定板顶端固定有多个立柱,立柱顶端固定有分散箱,分散箱内设置有分散装置,分散箱顶端固定有顶盖,顶盖顶端固定有进料斗,分散箱底部开设有第二物料口,第一物料口和第二物料口之间固定有物料道。本实用新型设置有分散装置和震动装置,将物料投入分散箱中,通过电机带动搅拌杆和搅拌叶片转动,实现对物料的初步分散,然后开启物流口启闭装置,物料通过物料道进入到震动装置中,物料在物料滑板上震动滑落,从而实现物料的充分分散,该装置结构简单。


