授权公布号:CN208286272U
防止水汽凝结的干果机
有效
申请
2018-03-30
申请公布
1970-01-01
授权
2018-12-28
预估到期
2028-03-30
| 申请号 | CN201820479708.3 |
| 申请日 | 2018-03-30 |
| 授权公布号 | CN208286272U |
| 授权公告日 | 2018-12-28 |
| 分类号 | A23B7/02 |
| 分类 | 其他类不包含的食品或食料;及其处理; |
| 申请人名称 | 中山市高乐士电器制造有限公司 |
| 申请人地址 | 广东省中山市南头镇尚勤路10号(二楼之二、三楼) |
专利法律状态
2018-12-28
授权
状态信息
授权
摘要
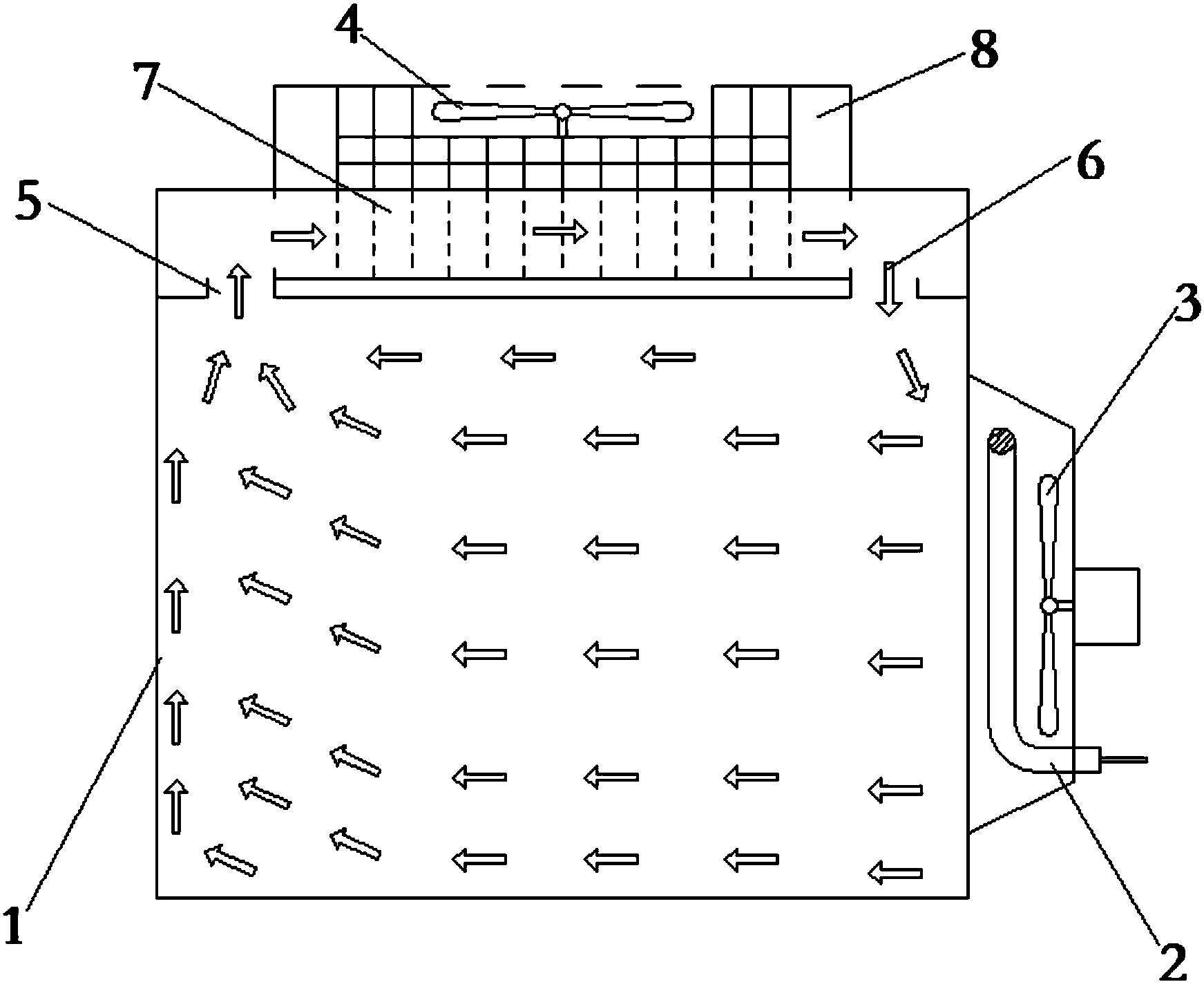
本申请公开了一种防止水汽凝结的干果机,属于干果机制造技术领域。其包括:壳体,壳体内部形成的空腔,壳体的前面板为门体,空腔的顶部两侧开设有进气口和出气口;在空腔的顶部设置有连通进气口和出气口的一冷凝装置,冷凝装置包括第一风扇和并排设置在进气口与出气口之间的多个散热翅片,设置在空腔内部一侧用于加热空腔内气体的加热元件,邻接加热元件设置的用于带动加热元件所产生的高温气体从空腔的一侧流动到空腔另一侧的第二风扇。本申请通过在干果机中设置一冷凝装置,以冷凝干果机空腔内的高温高湿气体气体,防止高温高湿气体在门体的内壁冷凝,在空腔内部积累大量冷凝水,影响正常使用。


