授权公布号:CN208159988U
能够排高温高湿气体的干果机
有效
申请
2018-03-30
申请公布
1970-01-01
授权
2018-11-30
预估到期
2028-03-30
| 申请号 | CN201820460798.1 |
| 申请日 | 2018-03-30 |
| 授权公布号 | CN208159988U |
| 授权公告日 | 2018-11-30 |
| 分类号 | A23B7/02 |
| 分类 | 其他类不包含的食品或食料;及其处理; |
| 申请人名称 | 中山市高乐士电器制造有限公司 |
| 申请人地址 | 广东省中山市南头镇尚勤路10号(二楼之二、三楼) |
专利法律状态
2018-11-30
授权
状态信息
授权
摘要
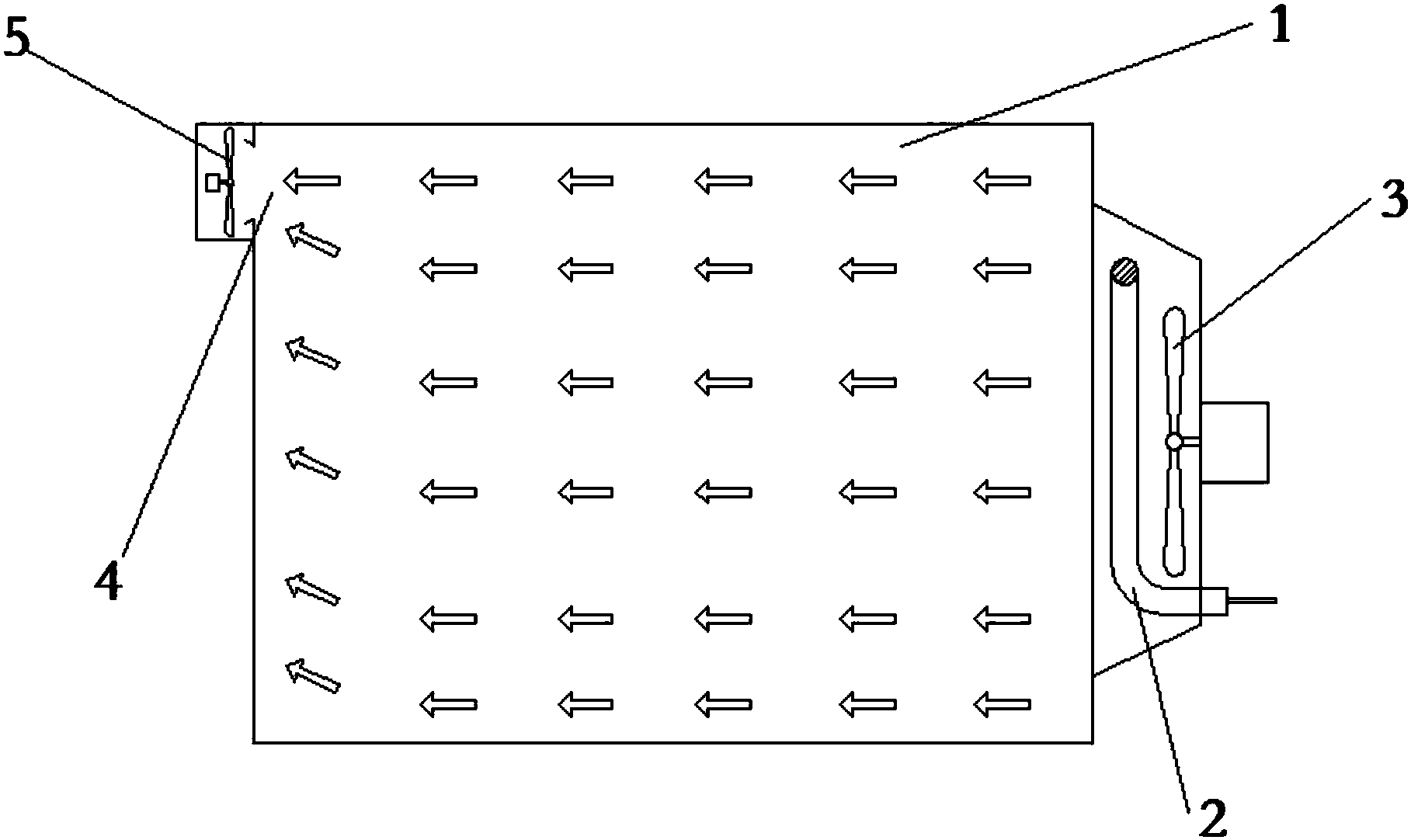
本申请公开了一种能够排高温高湿气体的干果机,其包括:一壳体,壳体内部形成一空腔,壳体的前面板为门体,设置在门体上的用于观察放置在空腔内部的水果风干情况的观察窗,设置在空腔一侧的用于加热空腔内空气的加热元件,邻接加热元件设置的用于带动高温气体在空腔内部流动的风扇,在壳体上的与风扇相对的一侧设置有一缺口,设置在缺口上的用于将空腔内部高温高湿气体排出到腔体外部的排气扇。本申请通过在干果机的壳体上设置一排气扇,排气扇用于排出空腔内高温高湿的气体,从而可以防止高温高湿气体在腔体内部积聚,影响正常使用。


