授权公布号:CN219460283U
一种烫漂机
有效
申请
2022-12-30
申请公布
1970-01-01
授权
2023-08-04
预估到期
2032-12-30
| 申请号 | CN202223563445.X |
| 申请日 | 2022-12-30 |
| 授权公布号 | CN219460283U |
| 授权公告日 | 2023-08-04 |
| 分类号 | A23N12/04 |
| 分类 | 其他类不包含的食品或食料;及其处理; |
| 申请人名称 | 绍兴市东海食品有限公司 |
| 申请人地址 | 浙江省绍兴市上虞区东关街道联星村 |
专利法律状态
2023-08-04
授权
状态信息
授权
摘要
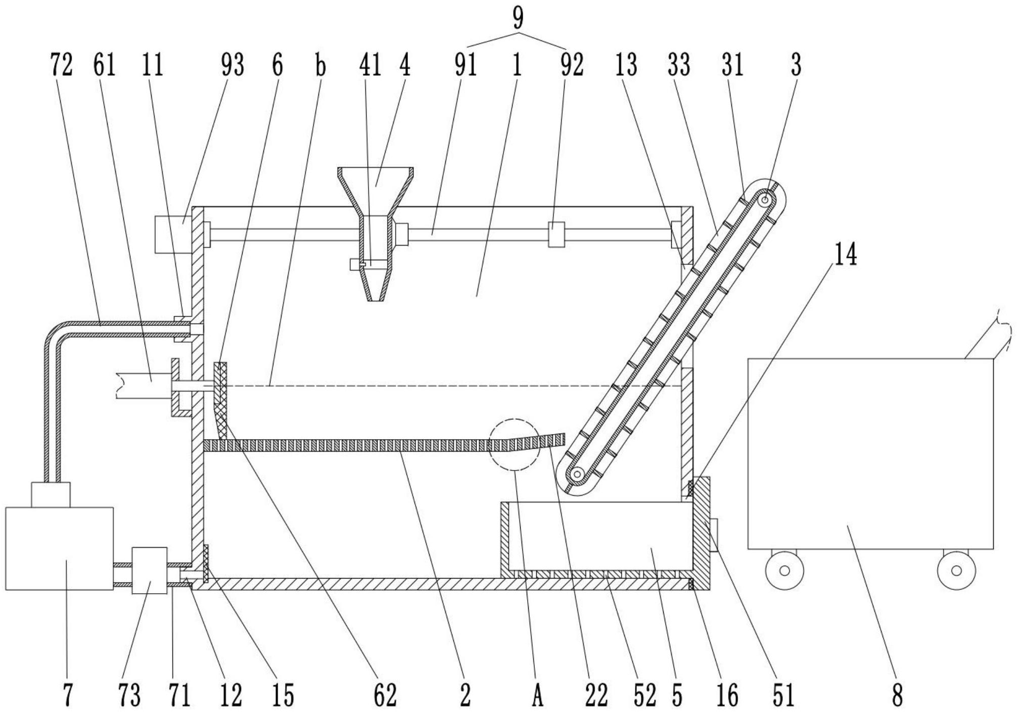
本实用新型公开了一种烫漂机,包括烫漂池、支撑板、传送带、下料框和推板,支撑板横向设置在烫漂池内,传送带倾斜向上设置,传送带一端位于烫漂池内且另一端位于烫漂池外侧,传送带位于支撑板侧面且传送带最低处低于支撑板下表面,下料框包括阀门,阀门能够打开或闭合下料框,下料框位于支撑板上方且能够横向移动靠近或远离传送带,推板设置在烫漂池远离传送带的一侧,推板能够移动靠近或远离传送带。本实用新型通过设置下料框、推板和传送带,能够将烫漂后的玉米直接输送到外部,实现玉米的持续烫漂作业。


