授权公布号:CN213726784U
一种保健品原料均质粉碎装置
有效
申请
2020-10-30
申请公布
1970-01-01
授权
2021-07-20
预估到期
2030-10-30
| 申请号 | CN202022463399.0 |
| 申请日 | 2020-10-30 |
| 授权公布号 | CN213726784U |
| 授权公告日 | 2021-07-20 |
| 分类号 | B02C4/10;B02C4/28;B02C23/04 |
| 分类 | 破碎、磨粉或粉碎;谷物碾磨的预处理; |
| 申请人名称 | 青海瑞湖生物资源开发有限公司 |
| 申请人地址 | 青海省西宁市青海生物科技产业园区食品保健品集聚区5号楼4层 |
专利法律状态
2021-07-20
授权
状态信息
授权
摘要
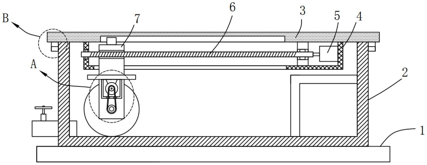
本实用新型提供一种保健品原料均质粉碎装置。所述保健品原料均质粉碎装置包括底座;盒体,所述盒体固定安装在所述底座的顶部,且所述盒体的顶部为开口设置;盖板,所述盖板设置在所述盒体的顶部;保护罩,所述保护罩固定安装在所述盖板的底部;第一电机,所述第一电机固定安装在所述保护罩的一侧内壁上;螺纹杆,所述螺纹杆转动安装在所述保护罩上,且所述螺纹杆的一端与所述第一电机的输出轴之间固定安装;移动块,所述移动块螺纹安装在所述螺纹杆上。本实用新型提供的保健品原料均质粉碎装置具有可以方便对中药进行研磨,且研磨较为省时省力,研磨效果好,也不易粉末飘散的优点。


