授权公布号:CN213727177U
植物提取物分离离心装置
有效
申请
2020-08-11
申请公布
1970-01-01
授权
2021-07-20
预估到期
2030-08-11
| 申请号 | CN202021655390.3 |
| 申请日 | 2020-08-11 |
| 授权公布号 | CN213727177U |
| 授权公告日 | 2021-07-20 |
| 分类号 | B04B7/00;B04B15/00 |
| 分类 | 用于实现物理或化学工艺过程的离心装置或离心机; |
| 申请人名称 | 青海瑞湖生物资源开发有限公司 |
| 申请人地址 | 青海省西宁市青海生物科技产业园区食品保健品集聚区5号楼4层 |
专利法律状态
2021-07-20
授权
状态信息
授权
摘要
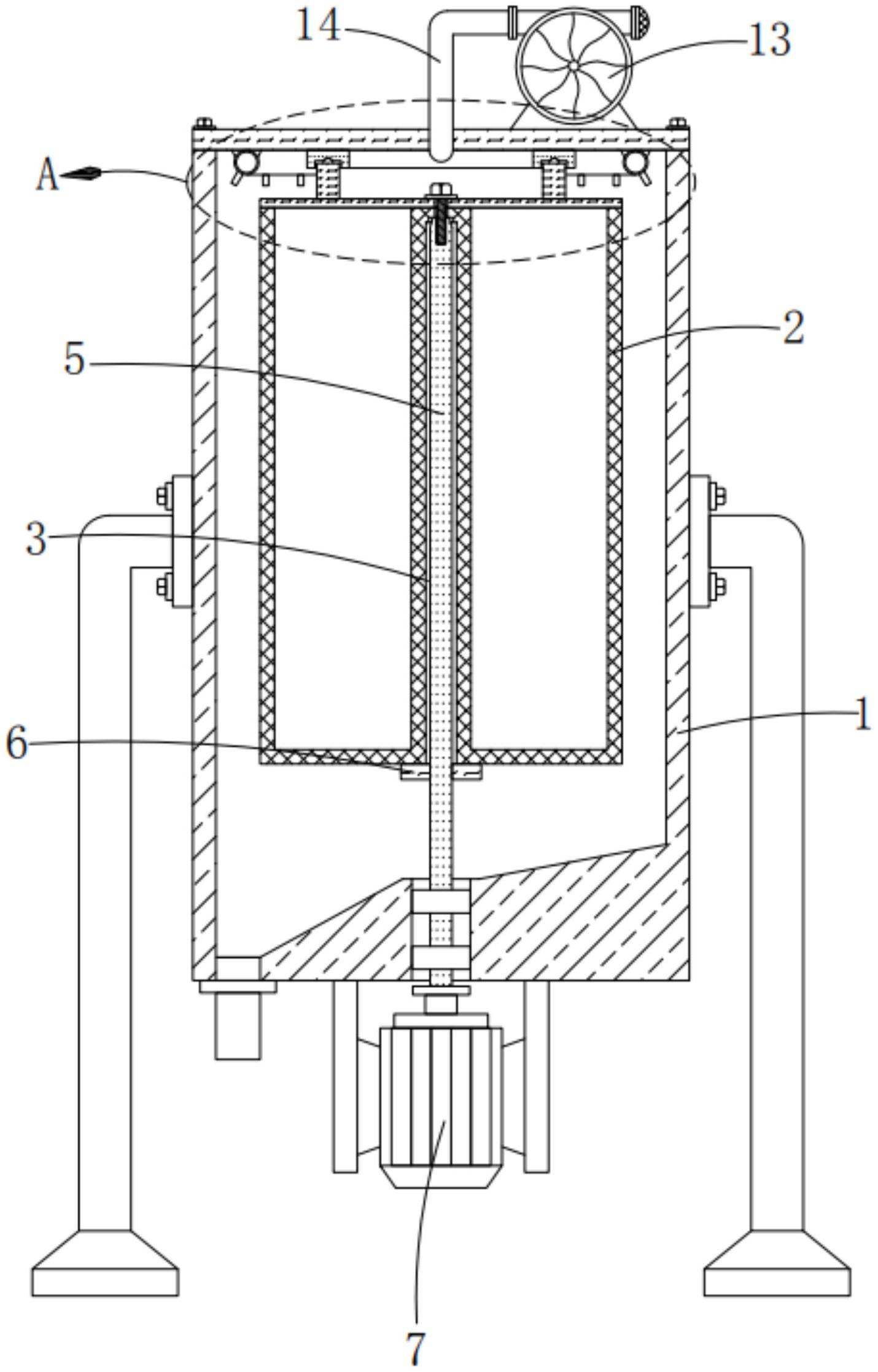
本实用新型提供一种植物提取物分离离心装置。所述植物提取物分离离心装置包括箱体;网框,所述网框设置在所述箱体内;安装口,所述安装口开设在所述网框上;嵌槽,所述嵌槽开设在所述安装口的顶部内壁上;传动杆,所述传动杆转动安装在所述箱体的底部内壁上,所述传动杆的顶端延伸至所述嵌槽内,所述传动杆贯穿所述安装口,所述传动杆的底端延伸至所述箱体外;限位环,所述限位环固定套设在所述传动杆上,所述限位环的顶部和所述网框的底部相接触。本实用新型提供的植物提取物分离离心装置具有便于清理残渣、提高汁液流动性、提高收集效率、且清理较为方便的优点。


