授权公布号:CN210607763U
一种插座保护门结构
有效
申请
2019-09-25
申请公布
1970-01-01
授权
2020-05-22
预估到期
2029-09-25
| 申请号 | CN201921605785.X |
| 申请日 | 2019-09-25 |
| 授权公布号 | CN210607763U |
| 授权公告日 | 2020-05-22 |
| 分类号 | H01R13/447 |
| 分类 | 基本电气元件; |
| 申请人名称 | 宁波良工电器有限公司 |
| 申请人地址 | 浙江省宁波市慈溪市观海卫镇五洞闸村 |
专利法律状态
2020-05-22
授权
状态信息
授权
摘要
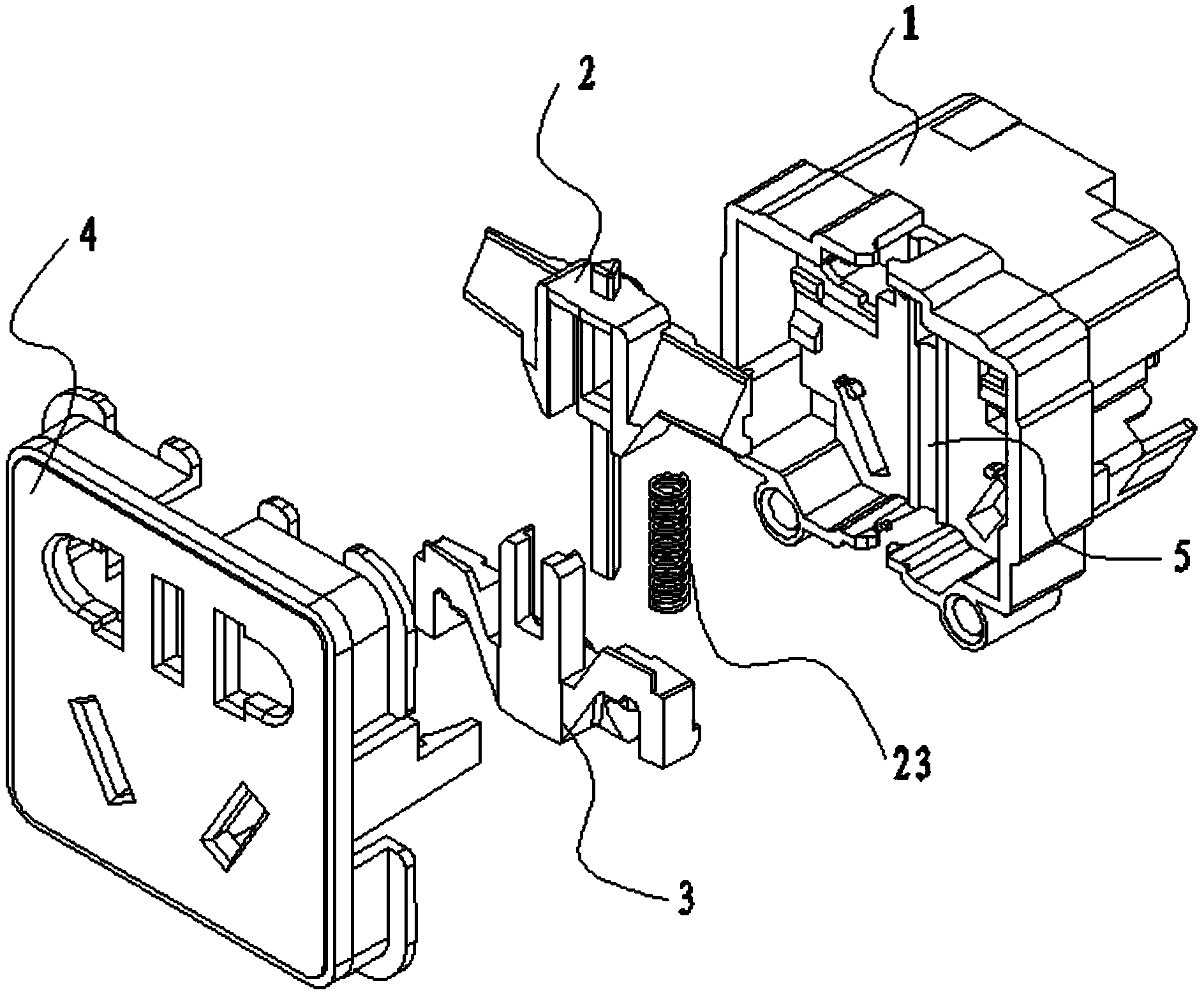
本实用新型涉及插座技术领域,尤其涉及一种插座保护门结构,包括底座、二插保护门、三插保护门以及盖体,所述底座上设置有二级插孔及三级插孔,所述二插保护门包括第一驱动体、活动基座、导向部以及压缩弹簧,所述活动基座上设有滑道;所述三插保护门包括第二驱动体以及对称设置在第二驱动体上的导向支架,所述第二驱动体上开设有安装套孔,所述安装套孔内壁还设有与压缩弹簧尾端配合抵触连接的限位圈,所述导向支架受外力作用能够在滑道上动作,本实用新型结构设计合理,在插头插入插座时,通过二插保护门与三插保护门的配合联动,能够有效改善插头插入的稳定性,避免保护门低头翘尾及极限状态下探针插入的情况,提高了插座的使用性能。


