授权公布号:CN217052829U
一种豆袋沙发加工用切割设备
有效
申请
2022-03-25
申请公布
1970-01-01
授权
2022-07-26
预估到期
2032-03-25
| 申请号 | CN202220671089.4 |
| 申请日 | 2022-03-25 |
| 授权公布号 | CN217052829U |
| 授权公告日 | 2022-07-26 |
| 分类号 | D06H7/02;B65H19/26;B65H18/10;B65H19/30 |
| 分类 | 织物等的处理;洗涤;其他类不包括的柔性材料; |
| 申请人名称 | 杭州尚都家居有限公司 |
| 申请人地址 | 浙江省杭州市萧山区衙前镇螺东路37号5幢 |
专利法律状态
2022-07-26
授权
状态信息
授权
摘要
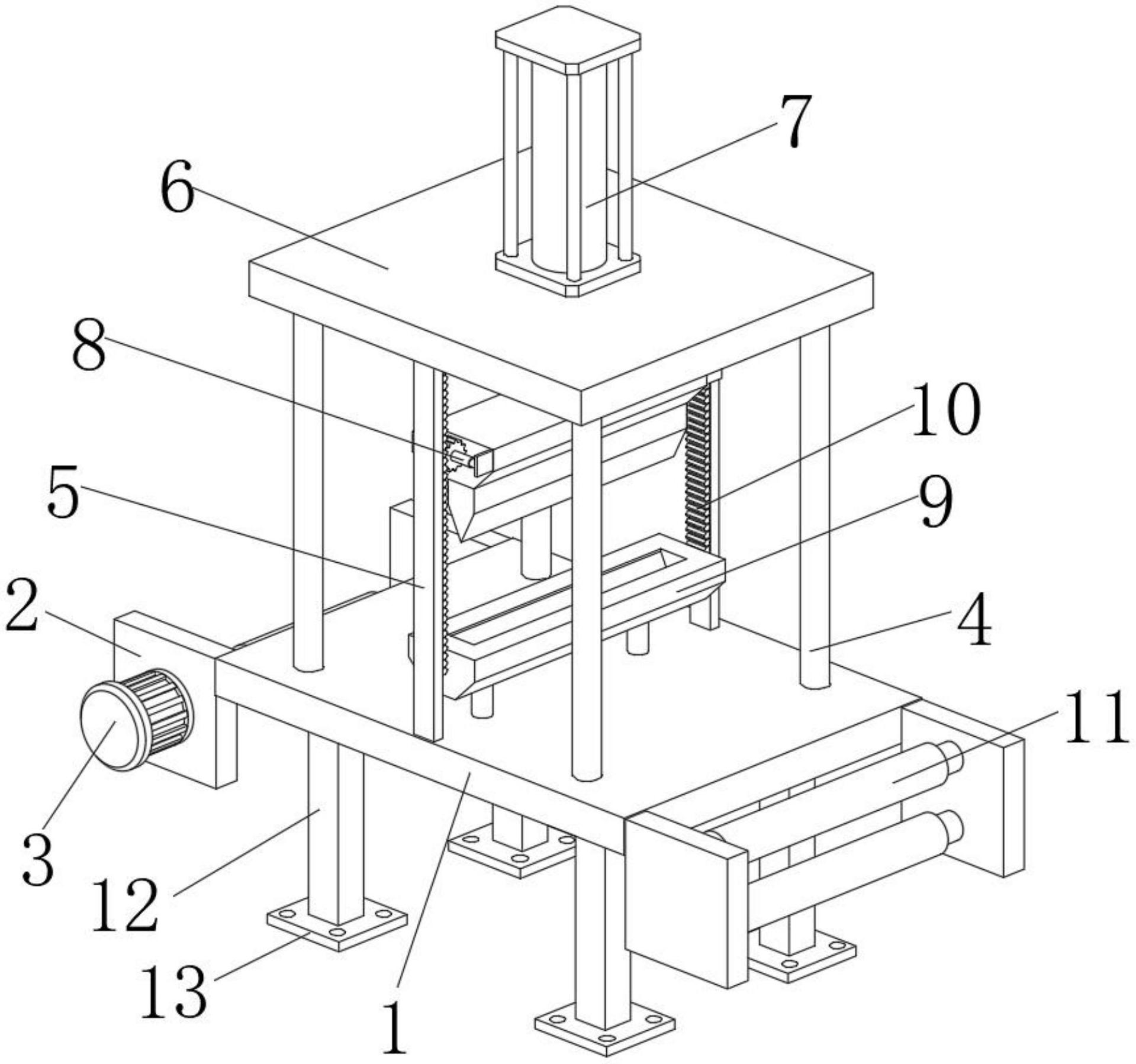
本实用新型公开了一种豆袋沙发加工用切割设备,包括固定台,所述固定台左端和右端均固定连接有两个固定板,左侧两个所述固定板之间共同穿插连接有收卷装置,所述固定台上端左部和上端右部均固定连接有两个支撑杆,所述固定台上端前部和上端后部均固定连接有支撑板,四个所述支撑杆上端和两个支撑板上端共同固定连接有顶板,所述顶板上端中部穿插安装有切割装置,所述切割装置前端和后端均固定连接有稳固组件,所述固定台上端中部固定连接有连接组件。本实用新型所述的一种豆袋沙发加工用切割设备,通过设置稳固组件,两个齿轮分别在对应的两组齿条上进行传动,提高了切割刀上下移动时的稳定性,从而提高了切割效果。


