授权公布号:CN216217562U
一种音箱自动检测设备
有效
申请
2021-11-03
申请公布
1970-01-01
授权
2022-04-05
预估到期
2031-11-03
| 申请号 | CN202122670136.1 |
| 申请日 | 2021-11-03 |
| 授权公布号 | CN216217562U |
| 授权公告日 | 2022-04-05 |
| 分类号 | H04R29/00 |
| 分类 | 电通信技术; |
| 申请人名称 | 恩平市西特尔电子科技有限公司 |
| 申请人地址 | 广东省江门市恩平市外资民资工业区D区28号 |
专利法律状态
2023-09-15
专利权质押合同登记的生效、变更及注销
状态信息
专利权质押合同登记的生效;IPC(主分类):H04R 29/00;专利号:ZL2021226701361;登记号:Y2023980054075;登记生效日:20230828;出质人:恩平市西特尔电子科技有限公司;质权人:中国邮政储蓄银行股份有限公司恩平市支行;实用新型名称:一种音箱自动检测设备;申请日:20211103;授权公告日:20220405
2022-04-05
授权
状态信息
授权
摘要
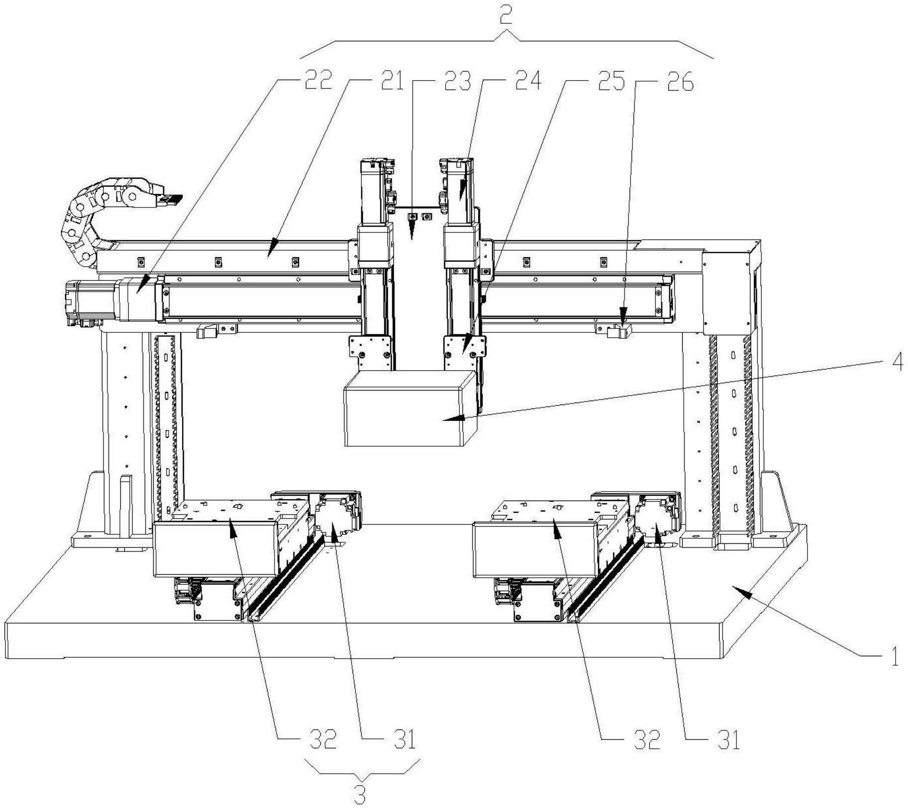
本实用新型公开了一种双工位、测试效率高、效果好的音箱自动检测设备。所述一种音箱自动检测设备包括机架(1)、搬运装置(2)和两组上料装置(3),所述搬运装置(2)和两组所述上料装置(3)均设于所述机架(1)上,两组所述上料装置(3)配合设于所述搬运装置(2)的下方,所述搬运装置(2)在两组所述上料装置(3)之间作往复运动,所述搬运装置(2)上传动连接有隔音箱(4)。本实用新型应用于音箱测试设备的技术领域。


