授权公布号:CN214786640U
一种多功能可调节安装支架
有效
申请
2020-12-31
申请公布
1970-01-01
授权
2021-11-19
预估到期
2030-12-31
| 申请号 | CN202023344182.4 |
| 申请日 | 2020-12-31 |
| 授权公布号 | CN214786640U |
| 授权公告日 | 2021-11-19 |
| 分类号 | E05B9/00;E05B15/00;E05B47/00 |
| 分类 | 锁;钥匙;门窗零件;保险箱; |
| 申请人名称 | 深圳市意林电锁有限公司 |
| 申请人地址 | 广东省深圳市福田区车公庙泰然九路海松大厦A-1605(仅限办公) |
专利法律状态
2021-11-19
授权
状态信息
授权
摘要
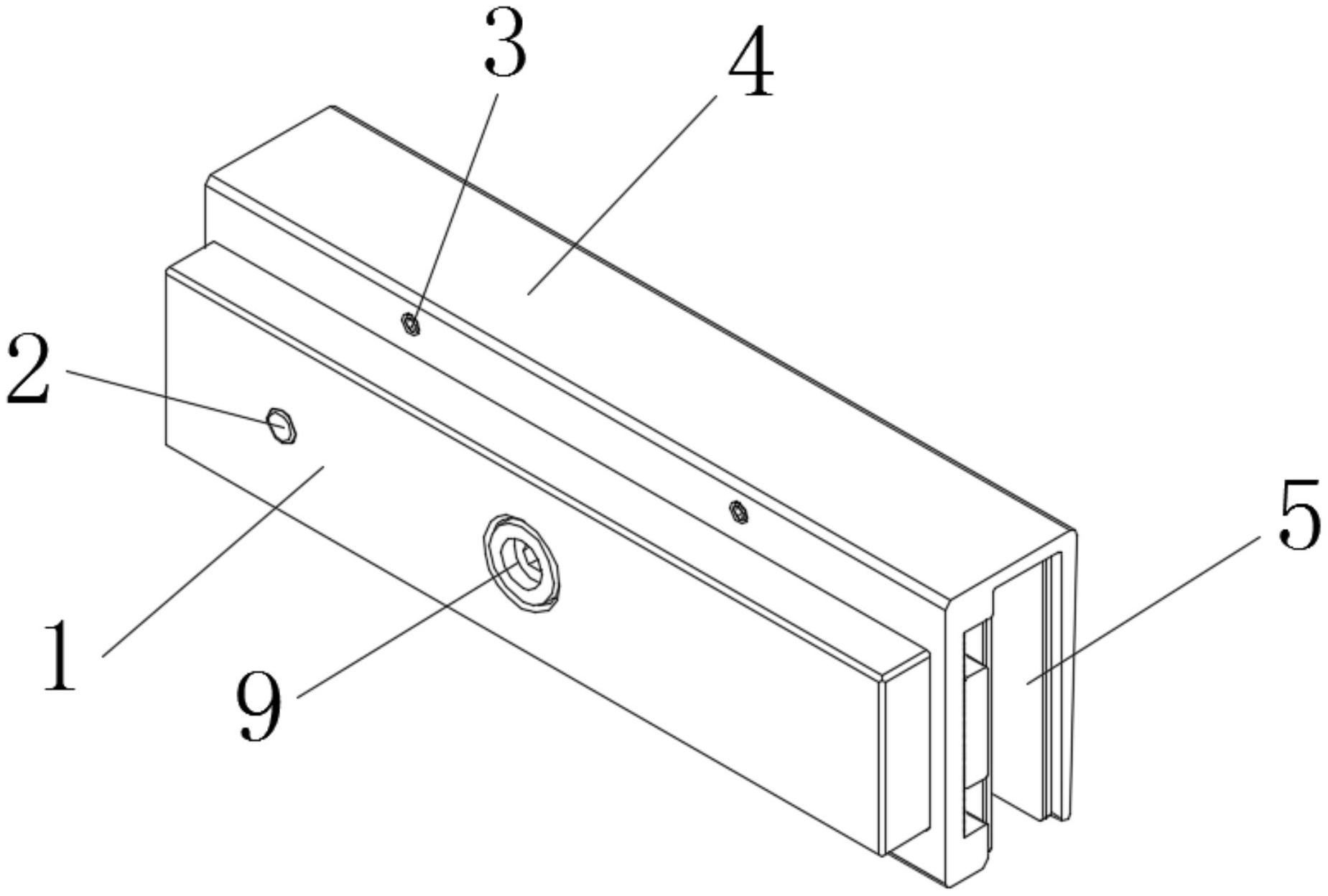
本实用新型公开了一种多功能可调节安装支架,包括:安装支架主体,所述安装支架主体包括吸板、调节定位条和安装在门扇上的U型支架,所述吸板远离U型支架的一侧外表面设置有吸板顶柱,所述吸板的一侧外表面设置有吸板锁紧螺丝。本实用新型所述的一种多功能可调节安装支架,通过设置的安装机构,安装机构能够快速对磁力锁进行安装,在安装时可以较大范围的调整吸板的位置,在保证吸板的左右两个定位销孔和中间螺栓孔三者的中心距离相同前提下,安装支架主体可配合多种规格的吸板、多种规格的磁力锁使用,减少了制造、仓储和物料管理的成本,方便了人们使用,整个装置结构简单,操作方便,增加了整个装置的适用性。


