授权公布号:CN218563322U
一种电子限位组件及电插锁
有效
申请
2022-09-15
申请公布
1970-01-01
授权
2023-03-03
预估到期
2032-09-15
| 申请号 | CN202222451683.5 |
| 申请日 | 2022-09-15 |
| 授权公布号 | CN218563322U |
| 授权公告日 | 2023-03-03 |
| 分类号 | E05B47/00;E05B15/00 |
| 分类 | 锁;钥匙;门窗零件;保险箱; |
| 申请人名称 | 深圳市意林电锁有限公司 |
| 申请人地址 | 广东省深圳市福田区车公庙泰然九路海松大厦A-1605(仅限办公) |
专利法律状态
2023-03-03
授权
状态信息
授权
摘要
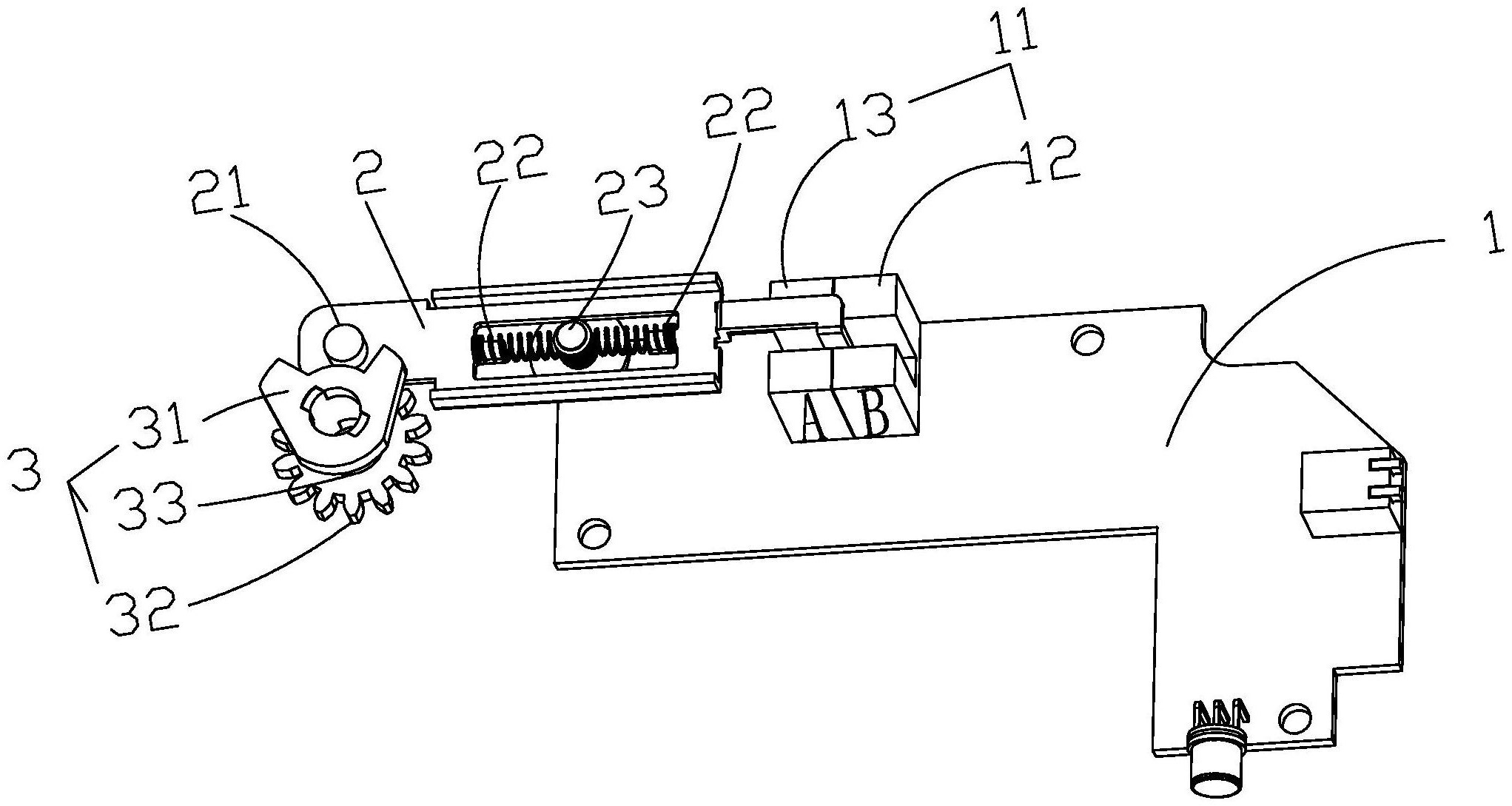
本实用新型公开了一种电子限位组件及电插锁,其电子限位组件包括:PCBA板,PCBA板集成有光电耦合器,光电耦合器包括第一光电开关和第二光电开关;触发件拨杆,触发件拨杆上设置有信号触发件和复位压簧;触发件拨杆活动连接在PCBA板上;传动组件,传动组件用于带动触发件拨杆从初始位置分别运动到信号触发件处于触发第一光电开关和第二光电开关的位置;复位压簧用于将触发件拨杆回弹至初始位置。本实用新型提供的电子限位组件及电插锁,通过结构件与电子元件光电开关的配合来实现电子限位,具有防撞击、防噪音的功能。


