授权公布号:CN209508876U
一种具有防雨功能的小区道闸
有效
申请
2018-12-07
申请公布
1970-01-01
授权
2019-10-18
预估到期
2028-12-07
| 申请号 | CN201822047036.1 |
| 申请日 | 2018-12-07 |
| 授权公布号 | CN209508876U |
| 授权公告日 | 2019-10-18 |
| 分类号 | E01F13/04 |
| 分类 | 道路、铁路或桥梁的建筑; |
| 申请人名称 | 昱瑾网络科技(上海)有限公司 |
| 申请人地址 | 上海市奉贤区南桥镇大亭公路4959号3幢283室 |
专利法律状态
2019-10-18
授权
状态信息
授权
摘要
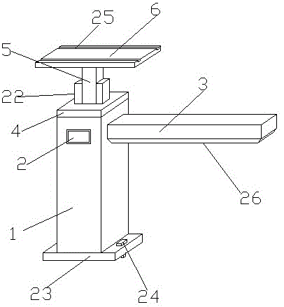
本实用新型公开了一种具有防雨功能的小区道闸,包括闸机,通过在支撑杆与顶板之间设有拆卸装置,拆卸装置包括底板,底板固定在顶板上,底板上设有第一凹槽,竖板上贯穿活动设有第一插杆,竖板的一侧设有侧板,侧板上设有滑槽,滑板与固定板之间设有伸缩杆,伸缩杆外套设有复位弹簧,滑板一侧设有第二插杆,第二插杆上设有第二凹槽,第一插杆延伸至第二凹槽内,滑板下方设有横板,横板上贯穿设有通孔,第二插杆贯穿通孔并延伸至第一凹槽内,在需要拆卸时,只需要先将第一插杆拔出第二凹槽,再将第二插杆拔出第一凹槽,即可完成拆卸,有益效果:这样的装置结构简单,使用方便,可以方便跟换挡雨板。


