授权公布号:CN211236996U
一种新型立式通道摆闸
有效
申请
2019-11-27
申请公布
1970-01-01
授权
2020-08-11
预估到期
2029-11-27
| 申请号 | CN201922078021.6 |
| 申请日 | 2019-11-27 |
| 授权公布号 | CN211236996U |
| 授权公告日 | 2020-08-11 |
| 分类号 | G07C9/20;G08B3/10 |
| 分类 | 核算装置; |
| 申请人名称 | 昱瑾网络科技(上海)有限公司 |
| 申请人地址 | 上海市奉贤区南桥镇大亭公路4959号3幢283室 |
专利法律状态
2020-08-11
授权
状态信息
授权
摘要
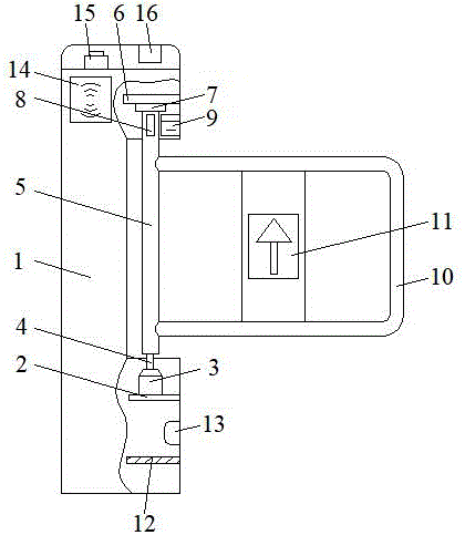
本实用新型公开了一种新型立式通道摆闸,包括机箱和闸门,机箱内顶部一侧设置有固定板,机箱内底部一侧设置有机架,机架上安装有电机,电机的输出端连接有传动轴,传动轴另一端连接有转杆,转杆的另一端通入到机箱内顶部,转杆另一端通过设置的轴承座与固定板活动连接,转杆上顶部连接有限位板,固定板底部一侧设置有限位开关,置于机箱外的转杆一端连接有闸门,闸门上安装有方向指示器,机箱内底部一侧设置有主控板,主控板的一侧设置有红外线传感器,机箱顶部一侧设置有蜂鸣器,蜂鸣器的一侧设置有报警器,机箱外一侧上安装有读卡器。有益效果:本实用新型为出入人员提供文明、有序的通行方式,同时又可杜绝非法人员出入,安全可靠。


