授权公布号:CN210581487U
一种眼霜瓶
有效
申请
2019-08-31
申请公布
1970-01-01
授权
2020-05-22
预估到期
2029-08-31
| 申请号 | CN201921435682.3 |
| 申请日 | 2019-08-31 |
| 授权公布号 | CN210581487U |
| 授权公告日 | 2020-05-22 |
| 分类号 | A45D40/26;A45D40/18;A61H23/02;A61M37/00 |
| 分类 | 手携物品或旅行品; |
| 申请人名称 | 广州唯我美日用品有限公司 |
| 申请人地址 | 广东省广州市白云区钟落潭镇良田工业区二横路15号之一厂房一楼之一和二楼之一 |
专利法律状态
2020-05-22
授权
状态信息
授权
摘要
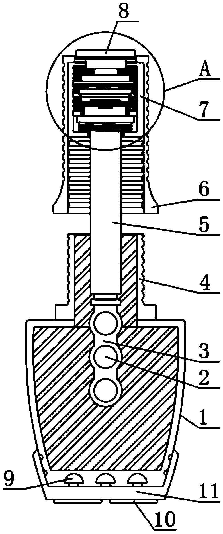
本实用新型公开了一种眼霜瓶,包括瓶身以及设置在瓶身顶部的瓶盖,所述瓶身的顶端表面设置有一体式的螺纹瓶口,且瓶盖的内壁开设有与螺纹瓶口相匹配的螺纹,所述瓶盖的内部顶端设置有内侧器件盒,且内侧器件盒的底部设置有取料棒,所述取料棒的底端处于瓶身的内部,且所述取料棒的底端表面固定有珠套,所述珠套的内部均匀设置有三个小钢珠;通过设置的取料棒、珠套和小钢珠,使得用户需要使用眼霜瓶内部的眼霜膏体时,不需要用手去触碰眼霜膏体,从而避免对瓶内剩余眼霜膏体造成污染的情况出现,且小钢珠可以起到一定的按摩作用,同时通过设置震动装置,可以进一步的增强小钢珠的按摩效果。


