授权公布号:CN215708720U
一种白酒酿造用白酒储存装置
有效
申请
2021-07-28
申请公布
1970-01-01
授权
2022-02-01
预估到期
2031-07-28
| 申请号 | CN202121725757.9 |
| 申请日 | 2021-07-28 |
| 授权公布号 | CN215708720U |
| 授权公告日 | 2022-02-01 |
| 分类号 | B65D85/72;B65D25/24;B65D25/52 |
| 分类 | 输送;包装;贮存;搬运薄的或细丝状材料; |
| 申请人名称 | 浙江丽水古堰画乡食品有限公司 |
| 申请人地址 | 浙江省丽水市莲都区碧湖镇保定村 |
专利法律状态
2022-02-01
授权
状态信息
授权
摘要
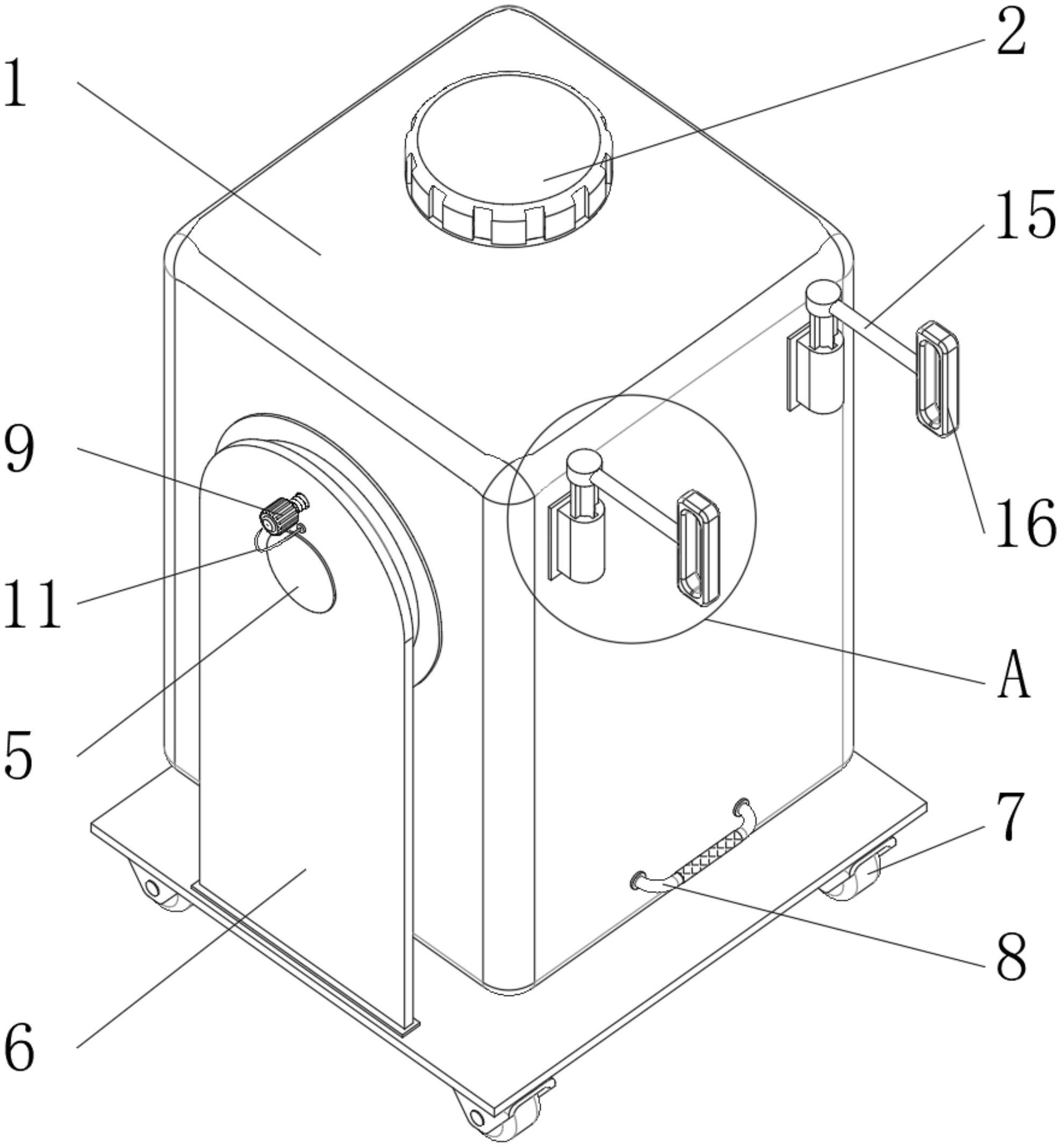
本实用新型提供一种白酒酿造用白酒储存装置,涉及白酒酿造技术领域,它是由罐体、罐盖、出料口、圆盘、转轴、支撑架、固定结构、万向轮和推动结构构成,所述罐体的顶部固装有罐盖,所述罐体的一侧固装有出料口,所述罐体的表面固装有圆盘,所述圆盘的表面转动连接有转轴,所述转轴与支撑架固定连接,所述圆盘与支撑架之间设置有固定结构,所述支撑架的底部固装有万向轮,所述罐体的一侧设置有推动结构。本实用新型,通过设置该固定结构,使工作人员在清理罐体时,能够将罐体转动至一定角度,方便工作人员将罐体内的液体倒出,操作简单,降低了工作人员的劳动强度,方便工作人员的使用。


