授权公布号:CN206911238U
一种花草茶搅拌用滚揉机
有效
申请
2017-05-19
申请公布
1970-01-01
授权
2018-01-23
预估到期
2027-05-19
| 申请号 | CN201720569956.2 |
| 申请日 | 2017-05-19 |
| 授权公布号 | CN206911238U |
| 授权公告日 | 2018-01-23 |
| 分类号 | B01F9/06 |
| 分类 | 一般的物理或化学的方法或装置; |
| 申请人名称 | 广州草粤行生物科技有限公司 |
| 申请人地址 | 广东省广州市白云区鹤龙街鹤边村五社大彭岭凌角圳7号三楼 |
专利法律状态
2018-01-23
授权
状态信息
授权
摘要
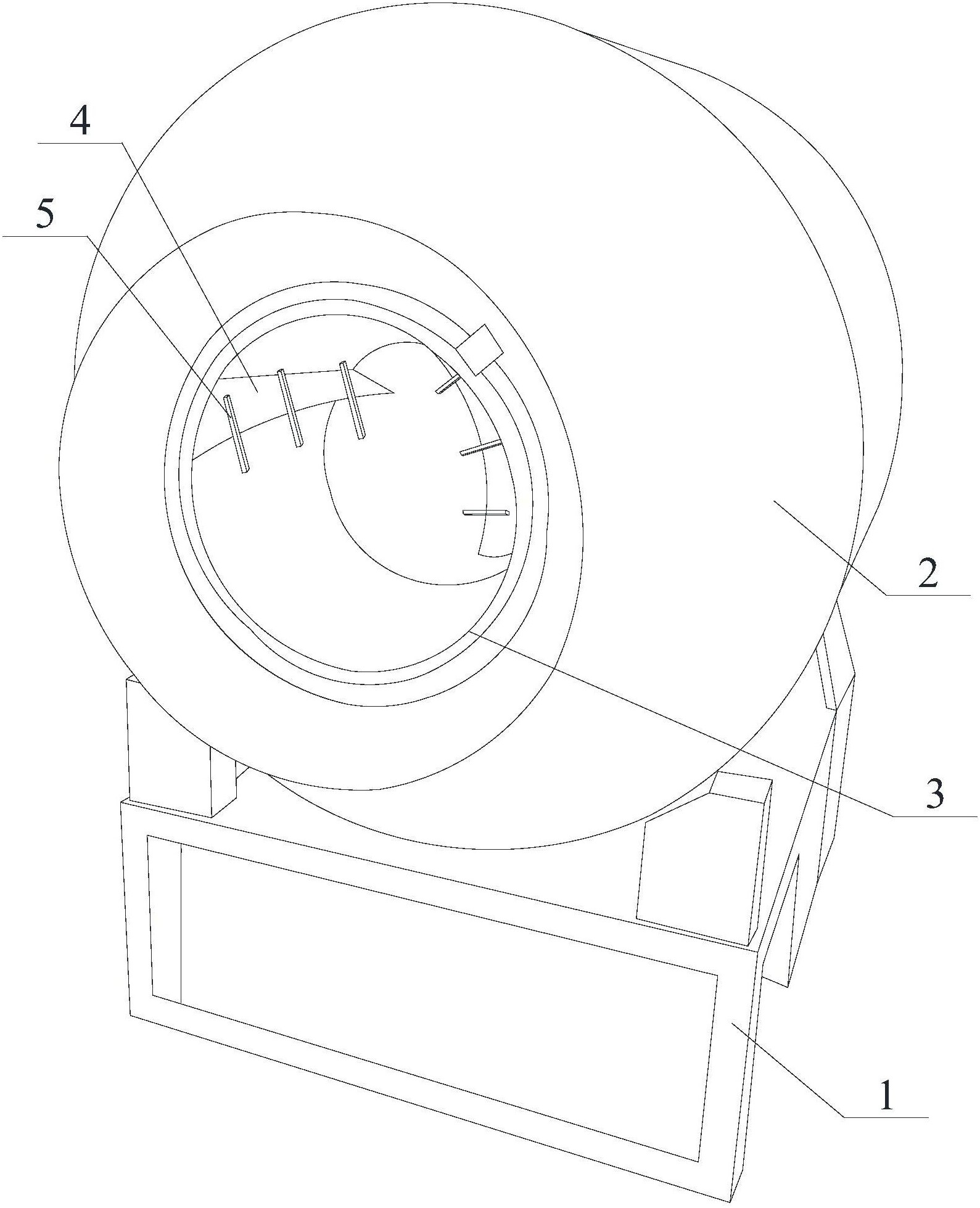
本实用新型公开了一种花草茶搅拌用滚揉机,包括底部的支架和设置于支架上的滚筒,滚筒的一端开设有加料口,支架上还设有驱动滚筒旋转的滚轮、电机和传动部件,滚筒的内壁上呈螺旋状固定有两条浆叶,每条浆叶上分别连接有多条菱形柱体,菱形柱体与浆叶呈一定角度连接。本实用新型,利用该机物理冲击原理,让物料在筒内上下翻滚,相互撞击,菱形柱体打散下落的物料集合体,使物料能够呈分散状下落,再与物料旋转达到均匀混合的目的,不仅缩短了工作时间,而且大大的提高了单包产品的成分比例含量,充分的使产品保留了原有的色、香、味。


