授权公布号:CN211145815U
一种新型悬臂式云台
有效
申请
2019-08-28
申请公布
1970-01-01
授权
2020-07-31
预估到期
2029-08-28
| 申请号 | CN201921410447.0 |
| 申请日 | 2019-08-28 |
| 授权公布号 | CN211145815U |
| 授权公告日 | 2020-07-31 |
| 分类号 | F16M11/04;F16M11/18 |
| 分类 | 工程元件或部件;为产生和保持机器或设备的有效运行的一般措施;一般绝热; |
| 申请人名称 | 中山市宝怡摄影器材有限公司 |
| 申请人地址 | 广东省中山市三乡镇鸦岗村三洲工业大街四巷1号;鸦岗村三洲工业大街二巷12号2幢601号(共设2处经营场所) |
专利法律状态
2020-07-31
授权
状态信息
授权
摘要
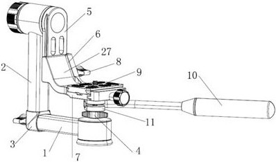
本实用新型涉及一种新型悬臂式云台,包括悬臂主体,悬臂主体的上端安装有旋转臂组件,旋转臂组件的下部安装有板座,板座自由端的上部安装有快装板,板座自由端的下部安装有把手组件,把手组件包括把手、连接座和把手锁紧旋钮,连接座内开有供把手一端插入的安装通孔,连接座上设置有水平布置的第一剖口、与第一剖口平面相垂直的孔以及旋入该孔的第一螺杆,第一剖口与安装通孔连通,第一螺杆的下端安装有把手锁紧旋钮,第一螺杆的上端与板座底部相连,连接座上端围绕着第一螺杆布置有一圈下齿牙,板座的下端设置有一圈与下齿牙相配的上齿牙。本实用新型结构简单、具有多个可调功能。


