授权公布号:CN213693927U
一种同时支持网线及护套线的楼宇对讲可视室内机
有效
申请
2020-12-14
申请公布
1970-01-01
授权
2021-07-13
预估到期
2030-12-14
| 申请号 | CN202023016905.8 |
| 申请日 | 2020-12-14 |
| 授权公布号 | CN213693927U |
| 授权公告日 | 2021-07-13 |
| 分类号 | H04N7/14;H04N7/18;B08B17/02 |
| 分类 | 电通信技术; |
| 申请人名称 | 佛山市星光楼宇设备有限公司 |
| 申请人地址 | 广东省佛山市南海区狮山镇罗村广东新光源产业基地核心区内C区7座四层(1-11轴) |
专利法律状态
2021-07-13
授权
状态信息
授权
摘要
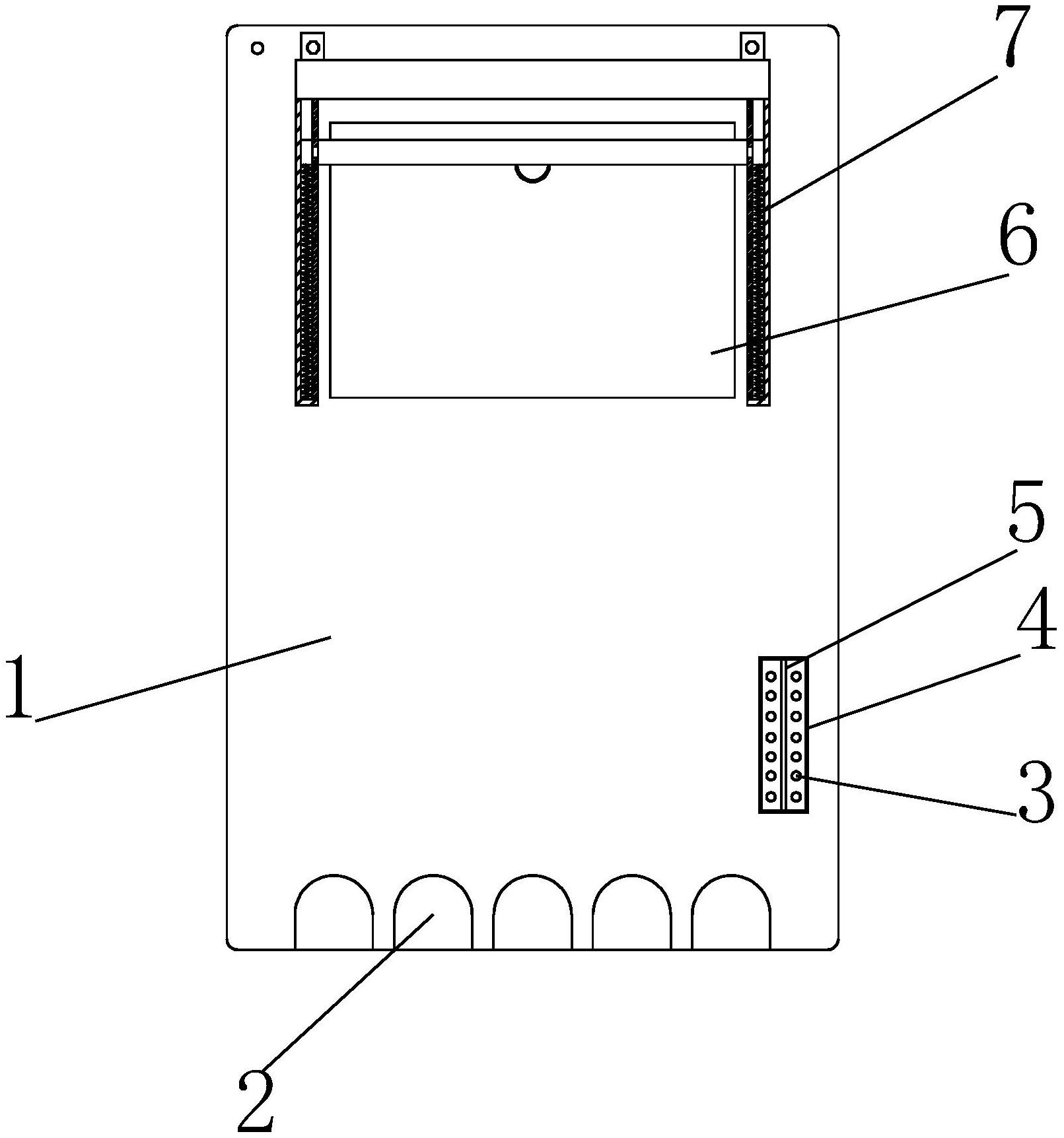
本实用新型公开了一种同时支持网线及护套线的楼宇对讲可视室内机,属于可视对讲技术领域,包括对讲机主体,所述对讲机主体的表面下侧设置有按键,所述按键的上侧设置有显示屏,所述显示屏与按键之间设置有对讲喇叭,所述显示屏的两侧设置有清理组件;所述清理组件包括固定筒、移动座、拉环、固定罩、弹簧和清理海绵,当装置长时间使用后会有灰尘等杂质附着在显示屏表面,通过拉动拉环带动移动座向下移动,弹簧在固定筒中压缩,同时移动座上的清理海绵对显示屏进行清理,到达合适位置后松开拉环,弹簧弹伸推动移动座向上移动进入固定罩中,通过设置清理组件可对显示屏进行清理,方便装置的使用。


