授权公布号:CN215748893U
一种电扳手的动力传输结构
有效
申请
2021-08-12
申请公布
1970-01-01
授权
2022-02-08
预估到期
2031-08-12
| 申请号 | CN202121882143.1 |
| 申请日 | 2021-08-12 |
| 授权公布号 | CN215748893U |
| 授权公告日 | 2022-02-08 |
| 分类号 | B25B21/00;B25B23/00 |
| 分类 | 手动工具;轻便机动工具;手动器械的手柄;车间设备;机械手; |
| 申请人名称 | 武义县盛隆金属制品有限公司 |
| 申请人地址 | 浙江省金华市武义桐琴工业区纬五东路7号 |
专利法律状态
2022-02-08
授权
状态信息
授权
摘要
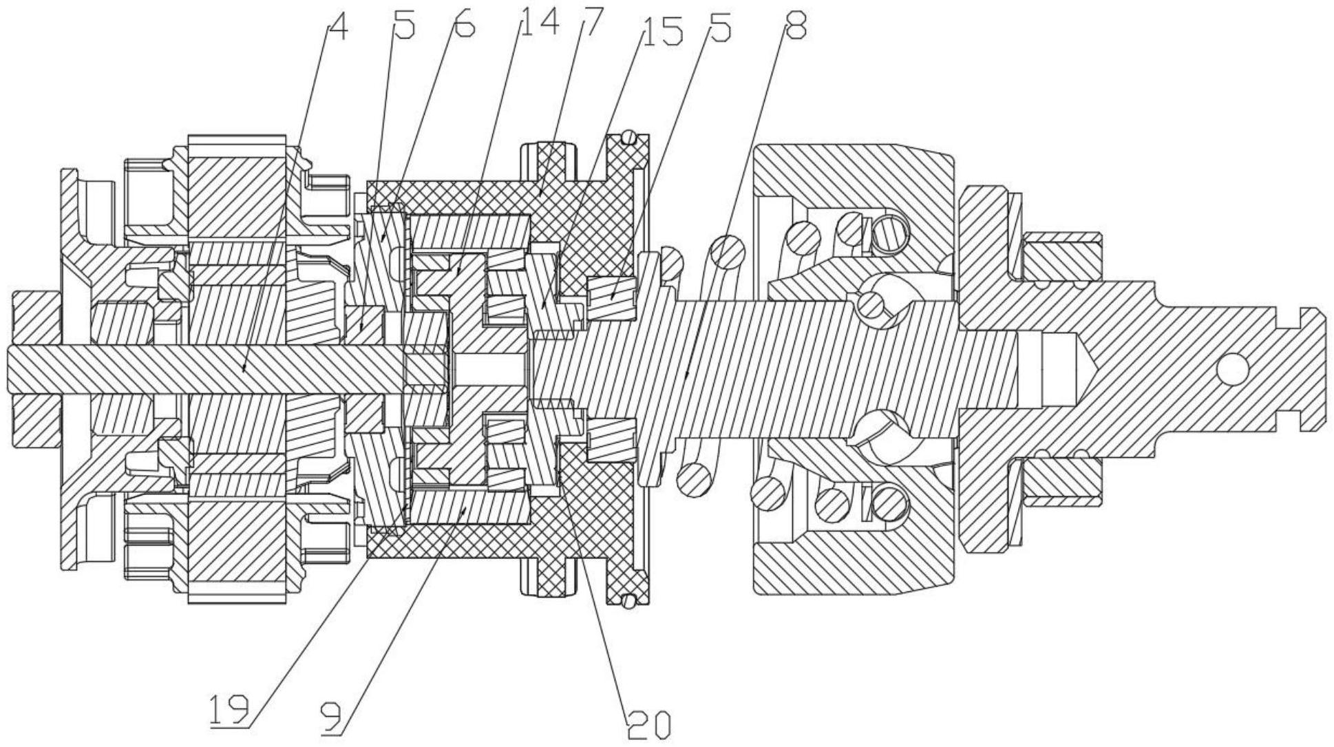
本实用新型的目的是提供一种电扳手的动力传输结构,其组成包括:打击块组件、双层行星齿轮组组件和马达组件,其特征在于:所述双层行星齿轮组组件包括牙箱和后牙箱盖,所述牙箱后端与后牙箱盖连接,并在牙箱内部形成一个腔体,所述牙箱内部连接有内齿圈,所述内齿圈内部连接有行星组件A和行星组件B,所述行星组件A连接在行星组件B后方;所述行星组件A包括行星轴架A,所述行星轴架A前侧设有大齿轮,后侧设有三个或三个以上行星齿轮轴,所述行星齿轮轴上套设有行星齿轮A;所述行星组件B包括行星轴架B,所述行星轴架B后侧设有三个或三个以上行星齿轮轴,所述行星齿轮轴上套设有行星齿轮B;所述内齿圈与后牙箱盖之间设有垫片A。


