授权公布号:CN206976709U
智能温度变送器编程辅助装置
有效
申请
2017-06-28
申请公布
1970-01-01
授权
2018-02-06
预估到期
2027-06-28
| 申请号 | CN201720760335.2 |
| 申请日 | 2017-06-28 |
| 授权公布号 | CN206976709U |
| 授权公告日 | 2018-02-06 |
| 分类号 | H01R13/629;H01R13/631;H01R27/00 |
| 分类 | 基本电气元件; |
| 申请人名称 | 杭州联测自动化技术有限公司 |
| 申请人地址 | 浙江省杭州市杭州经济技术开发区白杨街道6号大街452号2幢A0312室 |
专利法律状态
2018-02-06
授权
状态信息
授权
摘要
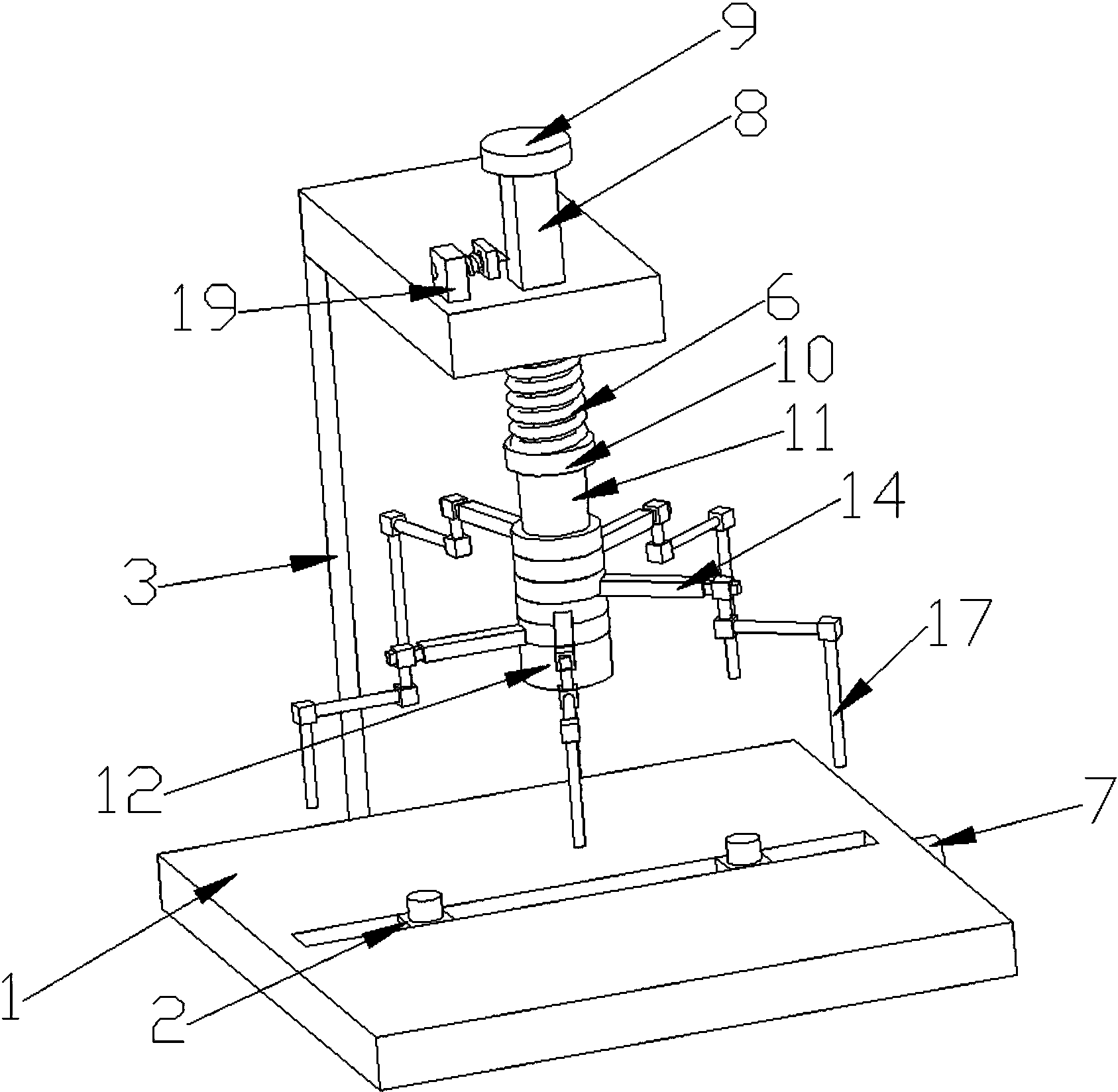
本实用新型公开了智能温度变送器编程辅助装置。本实用新型包括径向调整机构、锁止机构、底板、定位滑块、支架、双向丝杆、复位弹簧、滑动方轴、按压块、弹簧块、周向调整轴和限位块。双向丝杆由第一丝杆、第二丝杆和联轴器组成。径向调整机构包括调整环、空心管、滑动杆、固定块和编程针。锁止机构包括锁止弹簧、锁止轴、锁止定块和锁止动块。五个径向调整机构的调整环依次叠放;位于最低端的调整环的底面与限位块的顶面接触。本实用新型能够快速完成圆柱形智能温度变送器编程前的接线工作,且能够适应不同型号的圆柱形智能温度变送器。


