授权公布号:CN209808011U
一种夹层锅煮制压帘器
有效
申请
2019-04-15
申请公布
1970-01-01
授权
2019-12-20
预估到期
2029-04-15
| 申请号 | CN201920504058.8 |
| 申请日 | 2019-04-15 |
| 授权公布号 | CN209808011U |
| 授权公告日 | 2019-12-20 |
| 分类号 | A47J27/14;A47J36/16;A23L5/10 |
| 分类 | 家具;家庭用的物品或设备;咖啡磨;香料磨;一般吸尘器; |
| 申请人名称 | 哈尔滨裕昌食品有限公司 |
| 申请人地址 | 黑龙江省哈尔滨市经开区哈平路集中区渤海东路3号 |
专利法律状态
2019-12-20
授权
状态信息
授权
摘要
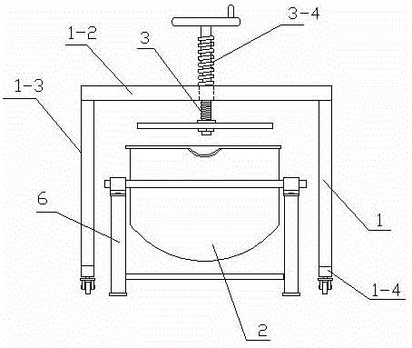
一种夹层锅煮制压帘器。目前,夹层锅在卤煮肉制品时,像是猪肉、猪蹄、鸡爪、烧鸡、烧鸭等等,在夹层锅进行煮制时,由于夹层锅内的水沸腾后会发生翻滚,使部分翻滚到水面上的肉制品不能够充分的煮制。一种夹层锅煮制压帘器,其组成包括:压帘器(1)和夹层锅(2),压帘器由压帘罩(1‑1)、压帘安装板(1‑2)、两个呈平行结构的支撑架(1‑3)和底部托架(1‑4)组成,底部托架上方中间位置处垂直焊接有支撑架,支撑架的顶部垂直焊接有压帘安装板,压帘安装板的中间位置处开设有螺纹孔(1‑5),螺纹孔内插入有螺纹推杆(3),螺纹推杆的顶部垂直焊接有转盘(3‑1),转盘的上方垂直设置有转把(3‑2)。本实用新型应用于夹层锅压帘器。


