授权公布号:CN216376647U
一种豆浆粉加工用螺杆下料装置
有效
申请
2021-11-30
申请公布
1970-01-01
授权
2022-04-26
预估到期
2031-11-30
| 申请号 | CN202123032101.1 |
| 申请日 | 2021-11-30 |
| 授权公布号 | CN216376647U |
| 授权公告日 | 2022-04-26 |
| 分类号 | B65G65/46;B65G69/12;B65G65/00;B65D90/48;B02C23/02 |
| 分类 | 输送;包装;贮存;搬运薄的或细丝状材料; |
| 申请人名称 | 山东天久生物技术有限公司 |
| 申请人地址 | 山东省菏泽市开发区陈集镇工业区 |
专利法律状态
2022-04-26
授权
状态信息
授权
摘要
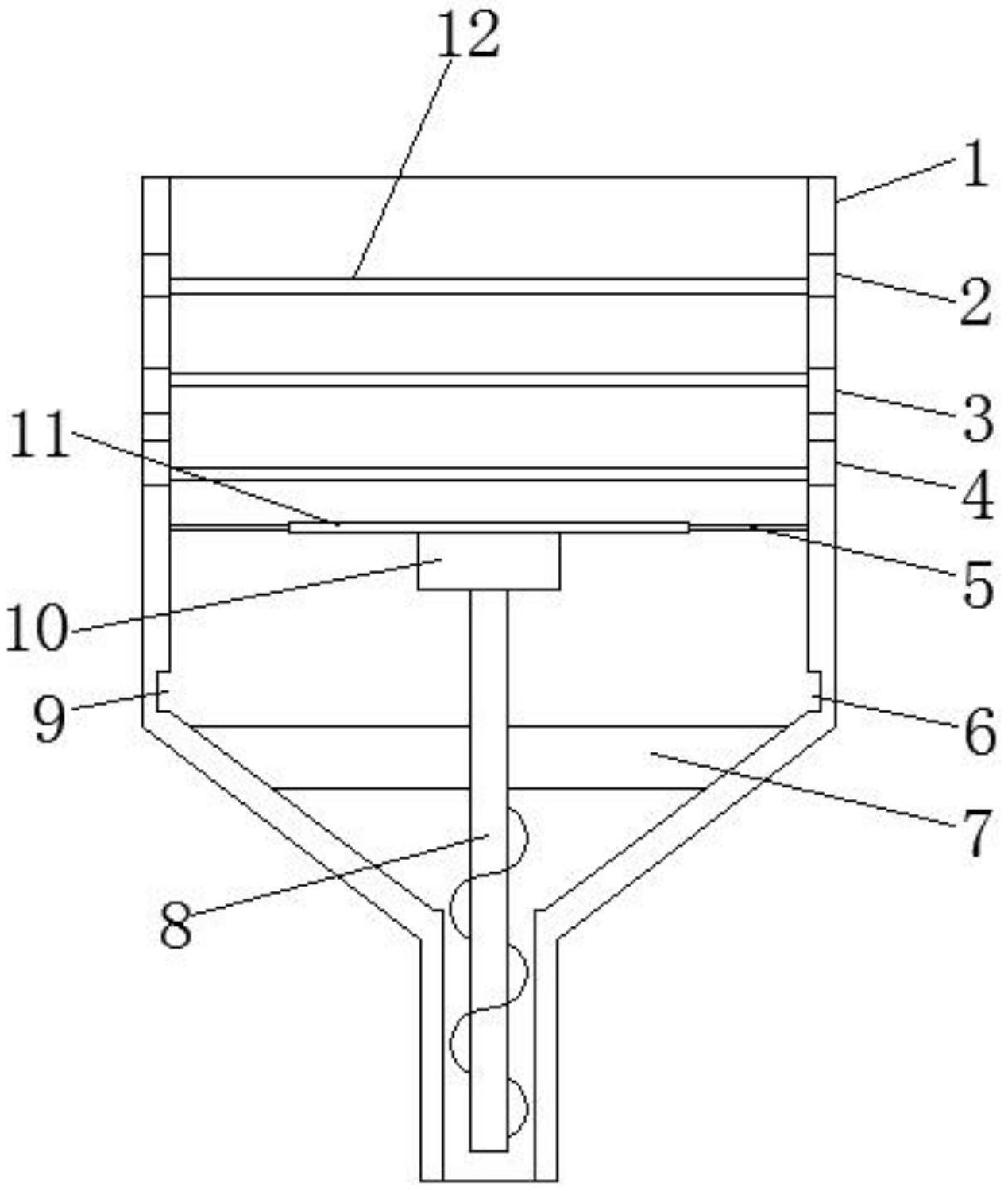
本实用新型属于豆浆粉加工技术领域,且公开了一种豆浆粉加工用螺杆下料装置,包括外壳,所述外壳的内侧设置有第一套框,所述第一套框的下方设置有第三套框,所述第三套框和第一套框之间设置有第二套框,所述第一套框、第二套框和第三套框的内侧均设置有滤网,所述第三套框的下方设置有圆盘板;通过设置的第一套框和振荡器来便于使用,设置的第一套框配合下方的两个套框能够对投入的大豆进行过滤,第一套框内侧的滤网网孔最大,从而将大豆中夹带的较大杂物拦截,中间的滤网适中,从而将上好的大豆拦截,最下方的滤网将细小大豆和沙粒拦截,从而能够去除投入大豆中夹带的杂质和不合格的细小大豆,保证后续大豆粉成品的质量。


