授权公布号:CN210470867U
海参干燥装置
有效
申请
2019-05-07
申请公布
1970-01-01
授权
2020-05-08
预估到期
2029-05-07
| 申请号 | CN201920647331.2 |
| 申请日 | 2019-05-07 |
| 授权公布号 | CN210470867U |
| 授权公告日 | 2020-05-08 |
| 分类号 | A23B4/03 |
| 分类 | 其他类不包含的食品或食料;及其处理; |
| 申请人名称 | 大连乾日海洋食品有限公司 |
| 申请人地址 | 辽宁省大连市甘井子区大连湾街道前盐村 |
专利法律状态
2020-05-08
授权
状态信息
授权
摘要
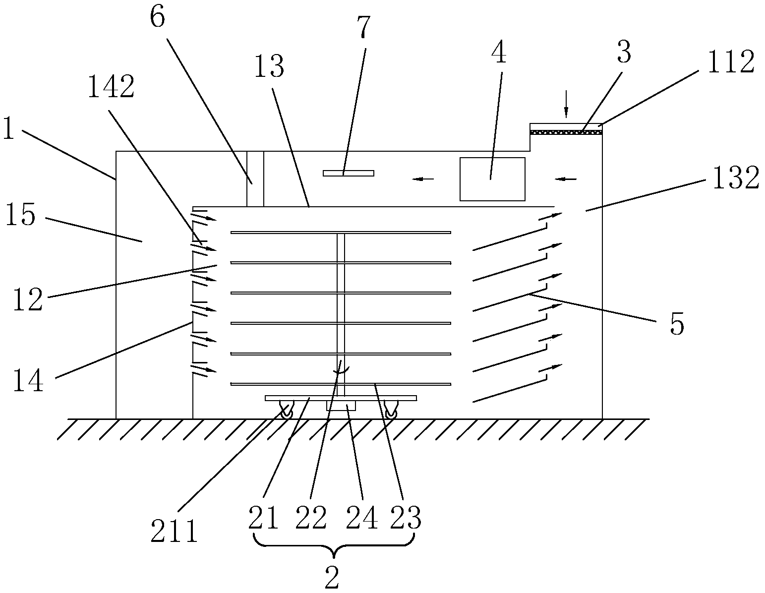
本实用新型涉及一种海参干燥装置,其干燥箱和干燥架,所述干燥箱包括箱体和设于箱体内部的干燥室,所述箱体通过顶板和侧板将箱体内部分隔成通风道和干燥室,所述顶板设于箱体的顶部,所述侧板设于箱体的一侧,所述顶板和侧板与箱体围合成的通道为通风道,所述侧板上设有多个通风口,所述顶板远离侧板的另一端设有回风口,所述回风口上方的箱体设有进风口,所述回风口和进风口均连通所述通风道,所述通风道内设有高压风机,所述高压风机的进风口连通回风口和进风口,其出风口连通通风道,所述干燥架可通过箱体前方的箱门活动地放置于干燥室。本实用新型风干速度快且可随时进行风干操作。


