授权公布号:CN220304177U
一种除湿装置
有效
申请
2023-07-13
申请公布
1970-01-01
授权
2024-01-05
预估到期
2033-07-13
| 申请号 | CN202321859960.4 |
| 申请日 | 2023-07-13 |
| 授权公布号 | CN220304177U |
| 授权公告日 | 2024-01-05 |
| 分类号 | F26B21/08 |
| 分类 | 干燥; |
| 申请人名称 | 浙江正理生能科技有限公司 |
| 申请人地址 | 浙江省温州市乐清市乐清湾港区乐商创业园区创新路9号 |
专利法律状态
2024-01-05
授权
状态信息
授权
摘要
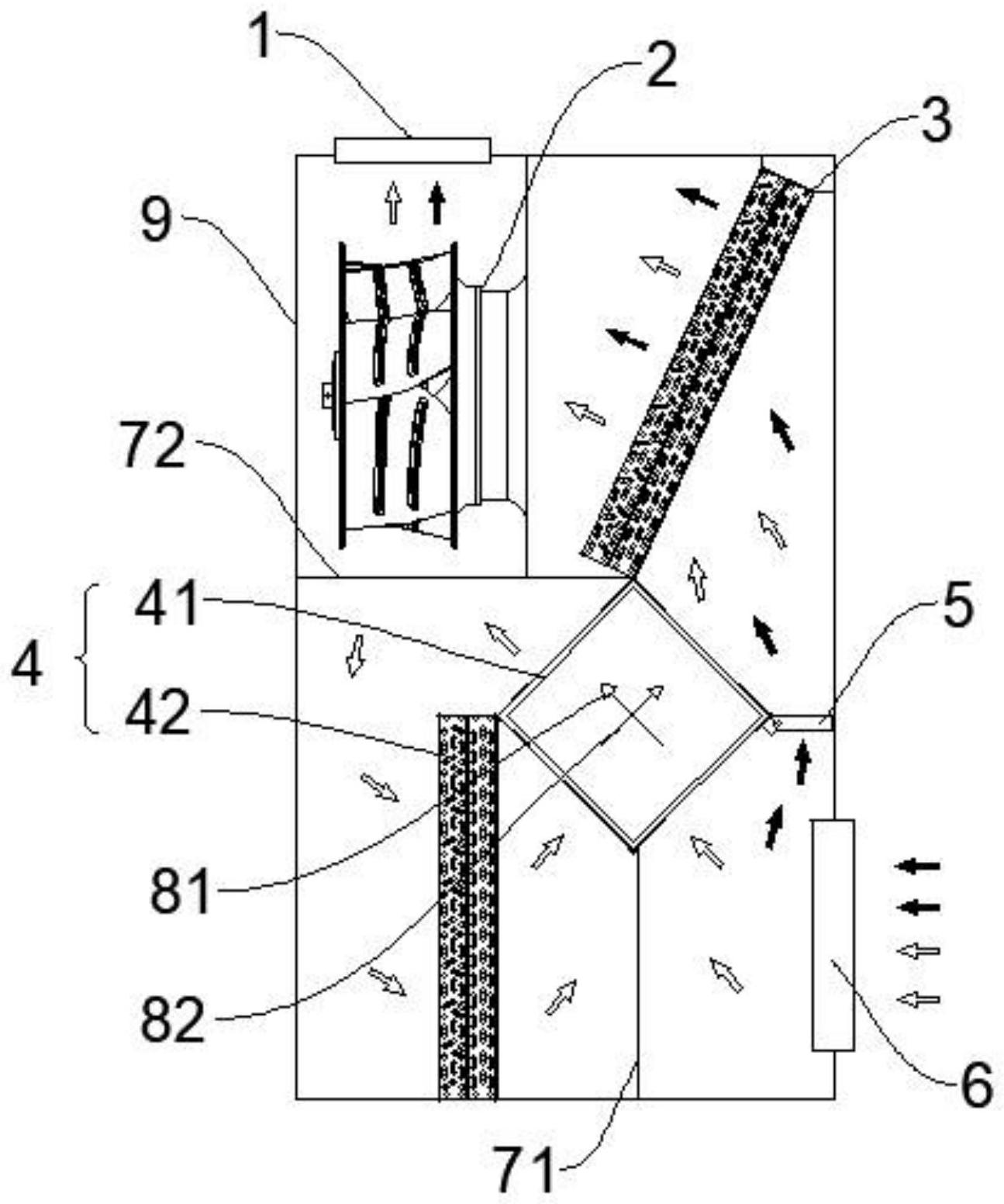
本实用新型涉及除湿烘干装置技术领域,具体涉及一种除湿装置。所述除湿装置包括:进风口和出风口,设置在壳体上;除湿组件,设置在所述壳体内部,并与所述进风口和所述出风口连通,所述除湿组件适于对进入其内部的高温高湿空气进行降温除湿;分流板,设置于所述除湿组件和所述壳体内壁之间,所述分流板适于改变进入所述除湿组件的所述高温高湿空气量。本实用新型提供的除湿装置,通过在所述除湿组件和所述壳体之间的空隙设置所述分流板,并通过改变所述分流板的开合角度,从而改变来自所述进风口的所述高温高湿空气进入到所述除湿组件的空气量,进而在所述出风口的风量一定时调整所述除湿装置的除湿效果。


