授权公布号:CN209447541U
一种电唱机调速装置
有效
申请
2019-03-27
申请公布
1970-01-01
授权
2019-09-27
预估到期
2029-03-27
| 申请号 | CN201920400300.7 |
| 申请日 | 2019-03-27 |
| 授权公布号 | CN209447541U |
| 授权公告日 | 2019-09-27 |
| 分类号 | G11B3/10 |
| 分类 | 信息存储; |
| 申请人名称 | 深圳市佳音王科技股份有限公司 |
| 申请人地址 | 广东省深圳市龙岗区园山街道安良社区安业路11号、11-1号 |
专利法律状态
2019-09-27
授权
状态信息
授权
摘要
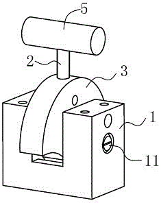
本实用新型提供了一种电唱机调速装置,包括本体、推杆、转动块和拨动开关;所述本体固定设置在电唱机上,所述本体上设置有旋转轴,所述旋转轴穿过所述转动块,所述转动块以所述旋转轴为中心可转动地设置在所述本体上;所述推杆固定设置在所述转动块的上端,所述拨动开关位于在所述转动块的下端;所述转动块的下端开设有一夹持部,所述夹持部用于触发所述拨动开关。与现有技术现比,本技术方案的有益效果是:用户通过推杆带动转动块触发拨动开关来调整电唱机的转速,当推杆处于一边时对应的转速为33转/分钟,当推杆处于另一边时对应的转速为45转/分钟,用户可直接通过推杆的位置来判断实时转速状态,便于用户日常使用。


