授权公布号:CN105747496B
一种桌腿的折叠结构
有效
申请
2016-03-15
申请公布
2016-07-13
授权
2018-08-03
预估到期
2036-03-15
| 申请号 | CN201610145173.1 |
| 申请日 | 2016-03-15 |
| 申请公布号 | CN105747496A |
| 申请公布日 | 2016-07-13 |
| 授权公布号 | CN105747496B |
| 授权公告日 | 2018-08-03 |
| 分类号 | A47B3/091 |
| 分类 | 家具;家庭用的物品或设备;咖啡磨;香料磨;一般吸尘器; |
| 申请人名称 | 浙江恒盛工贸有限公司 |
| 申请人地址 | 浙江省金华市永康市古山镇胡库工业基地 |
专利法律状态
2018-08-03
授权
状态信息
授权
2016-08-10
实质审查的生效
状态信息
实质审查的生效IPC(主分类):A47B 3/091申请日:20160315
2016-07-13
公布
状态信息
公开
摘要
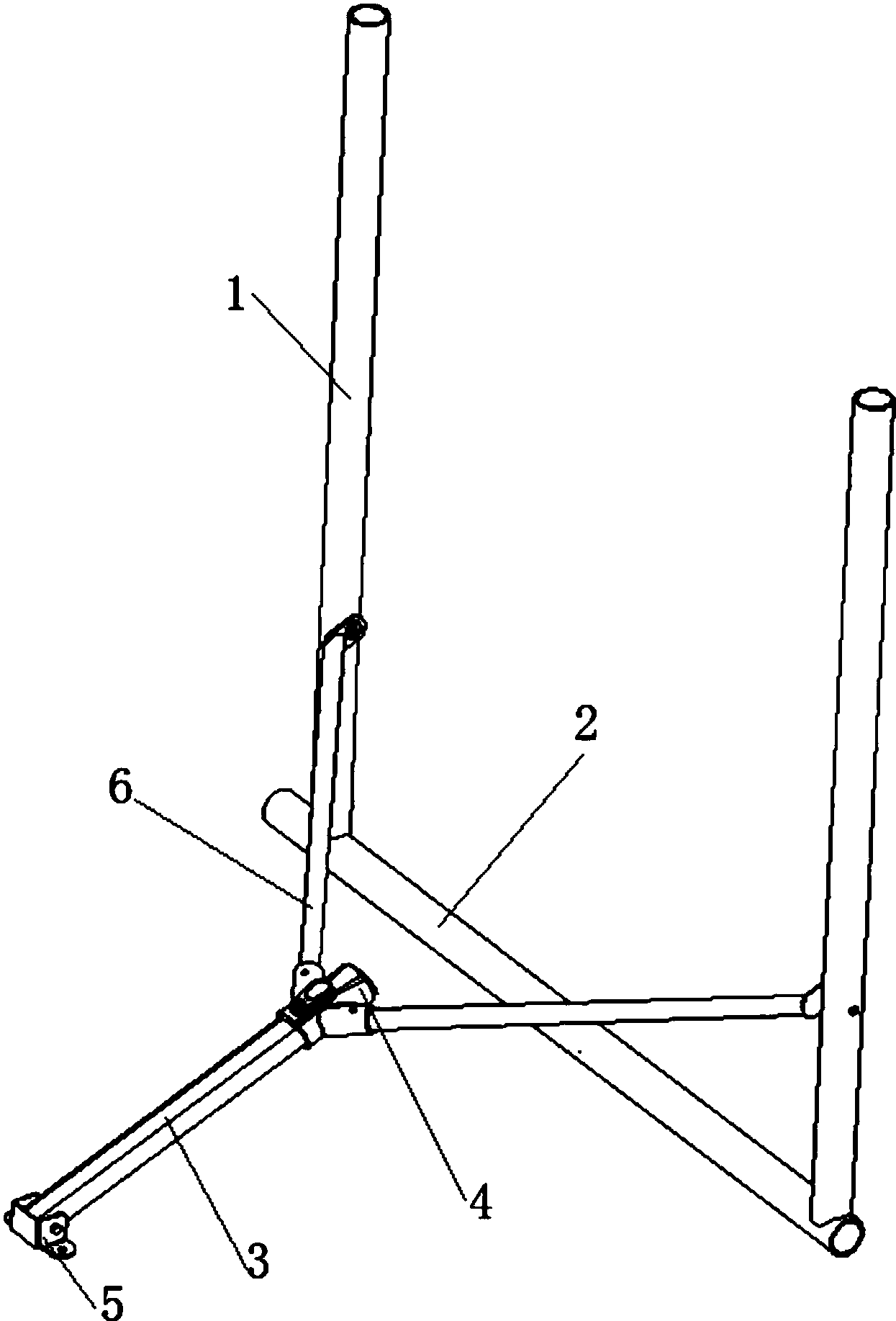
本发明涉及一种桌腿的折叠结构,包括桌腿、导杆、滑块、连杆,桌腿与桌面转动连接,桌腿通过连杆与滑块连接,滑块与导杆配合且在导杆上的滑动行程有限,所述导杆通过固定座与桌面铰接,连杆一端与桌腿铰接,另一端与滑块固定连接。发明有益的效果是:一、本发明增加了支撑桌腿的力臂,特别是在桌面尺寸比较小的时候,仍然可以提供长力臂,从而提高整体桌子的稳定性;二、无需使用几乎与桌子等长的导杆,只需要在桌子中心设置固定点即可工作可以更为节省原材料,易于实现产品的轻量化;通过四通滑块连接连杆和导杆,集成了限位,连接,滑动等多种功能,原材料通用性强,便于生产,安装,方便更换零部件,更容易实现推广。


