授权公布号:CN109875316B
一种可单手安全和便捷调节角度婴儿摇椅
有效
申请
2019-04-17
申请公布
2019-06-14
授权
2024-03-22
预估到期
2039-04-17
| 申请号 | CN201910308580.3 |
| 申请日 | 2019-04-17 |
| 申请公布号 | CN109875316A |
| 申请公布日 | 2019-06-14 |
| 授权公布号 | CN109875316B |
| 授权公告日 | 2024-03-22 |
| 分类号 | A47D13/10;A47D15/00 |
| 分类 | 家具;家庭用的物品或设备;咖啡磨;香料磨;一般吸尘器; |
| 申请人名称 | 广东乐美达集团有限公司 |
| 申请人地址 | 广东省中山市横栏镇永谊六路16号 |
专利法律状态
2024-03-22
授权
状态信息
授权
2019-07-09
实质审查的生效
状态信息
实质审查的生效;IPC(主分类):A47D13/10;申请日:20190417
2019-06-14
公布
状态信息
公布
摘要
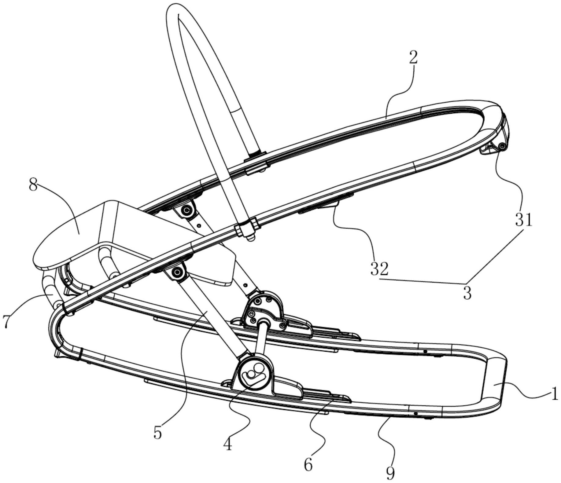
本发明公开了一种可单手安全和便捷调节角度婴儿摇椅,包括底部摇架、座椅支撑架、角度调节支撑杆、卡锁定位机构、角度调节滑轨和安全解锁操作机构;该角度调节支撑杆的一端与该座椅支撑架相铰接;卡锁定位机构设于该底部摇架上且与该角度调节支撑杆的另一端相铰接;该角度调节滑轨具有第一卡紧定位区域和第二卡紧定位区域;该安全解锁操作机构具有用于解锁该卡锁定位机构的卡锁操作机构和用于卡锁固定该卡锁操作机构以阻碍该卡锁定位机构从第一卡紧定位区域进入第二卡紧定位区域内的二道锁解锁机构。本发明提供的可单手安全和便捷调节角度婴儿摇椅可单手调整角度,操作方便快捷而且安全性高,可防止因失误操作、误接触而导致婴儿发生危险。


